中文核心期刊

SCOPUS 数据库收录期刊

中国科技核心期刊

美国《化学文摘》来源期刊

中国优秀冶金期刊

美国EBSCO数据库收录期刊

RCCSE中国核心学术期刊

美国《剑桥科学文摘》来源期刊

中国应用核心期刊(CACJ)

美国《乌利希期刊指南》收录期刊

中国学术期刊综合评价统计源刊

俄罗斯《文摘杂志》来源期刊

优秀中文科技期刊(西牛计划)

日本《科学技术文献数据库》(JST)收录刊

留言板

尊敬的读者、作者、审稿人, 关于本刊的投稿、审稿、编辑和出版的任何问题, 您可以本页添加留言。我们将尽快给您答复。谢谢您的支持!

姓名
邮箱
手机号码
标题
留言内容
验证码

GB/T 10561-2023《钢中非金属夹杂物含量的测定标准评级图显微检验法》标准解析

张振威 马裕辰 尤阳立君 王若兰 陈敏 赵洁 蒋锐 李雨蕾

Li Bing, Wu Zhiwei, Chen Wenxiong, et al. Effect of deoxidizer on non-metallic inclusions in M50NiL steel[J]. Iron Steel Vanadium Titanium, 2023, 44(3): 177−182. doi: 10.7513/j.issn.1004-7638.2024.01.029
引用本文: Li Bing, Wu Zhiwei, Chen Wenxiong, et al. Effect of deoxidizer on non-metallic inclusions in M50NiL steel[J]. Iron Steel Vanadium Titanium, 2023, 443): 177182. doi: 10.7513/j.issn.1004-7638.2024.01.029
Zhang Zhenwei, Ma Yuchen, You Yanglijun, Wang Ruolan, Chen Min, Zhao Jie, Jiang Rui, Li Yulei. Analysis of standard GB/T 10561-2023: Determination of content of nonmetallic inclusions in steel-micrographic method using standard diagrams[J]. IRON STEEL VANADIUM TITANIUM, 2024, 45(1): 197-204. doi: 10.7513/j.issn.1004-7638.2024.01.029
Citation: Zhang Zhenwei, Ma Yuchen, You Yanglijun, Wang Ruolan, Chen Min, Zhao Jie, Jiang Rui, Li Yulei. Analysis of standard GB/T 10561-2023: Determination of content of nonmetallic inclusions in steel-micrographic method using standard diagrams[J]. IRON STEEL VANADIUM TITANIUM, 2024, 45(1): 197-204. doi: 10.7513/j.issn.1004-7638.2024.01.029

GB/T 10561-2023《钢中非金属夹杂物含量的测定标准评级图显微检验法》标准解析

doi: 10.7513/j.issn.1004-7638.2024.01.029
基金项目: 中国兵器科学研究院宁波分院基金(NBFJ2022-27)。
详细信息
    作者简介:

    张振威,男,1991年出生,河南周口人,硕士,助理研究员,主要从事金属材料检验及失效分析等方面的研究,E-mail:zzwTaylor@163.com

    通讯作者:

    蒋 锐,男,1988年出生,浙江宁波人,博士,助理研究员,主要从事金属材料检验及失效分析等方面的研究,E-mail:jiangruiexp@163.com

  • 中图分类号: TG115.21, N65

Analysis of standard GB/T 10561-2023: Determination of content of nonmetallic inclusions in steel-micrographic method using standard diagrams

  • 摘要: 非金属夹杂物检验标准GB/T 10561-2023已修订完成,为了更好地实施新标准,针对新标准的修订内容,从术语定义、原理、测定方法、结果表示、计算公式、评级图谱方面进行了详细的解析。新标准主要修订内容如下:增加了术语和定义部分,修改了夹杂物定义和特征描述;增加了析出相类评定要求以及化学特征表示方法,将非金属夹杂物级别细化为10个级别,明确了取样要求,更改了钢管的取样方法,明确了夹杂物起评尺寸;修改了测定方法,给出了显微镜B法的扫描方式,在结果表示方面修改了夹杂物类型和系列划分界限不清晰的问题;新标准更改了夹杂物测量值和夹杂物级别计算公式,并重新绘制了标准评级图,相比GB/T 10561-2005版标准,新发布的GB/T 10561-2023标准更加完善。
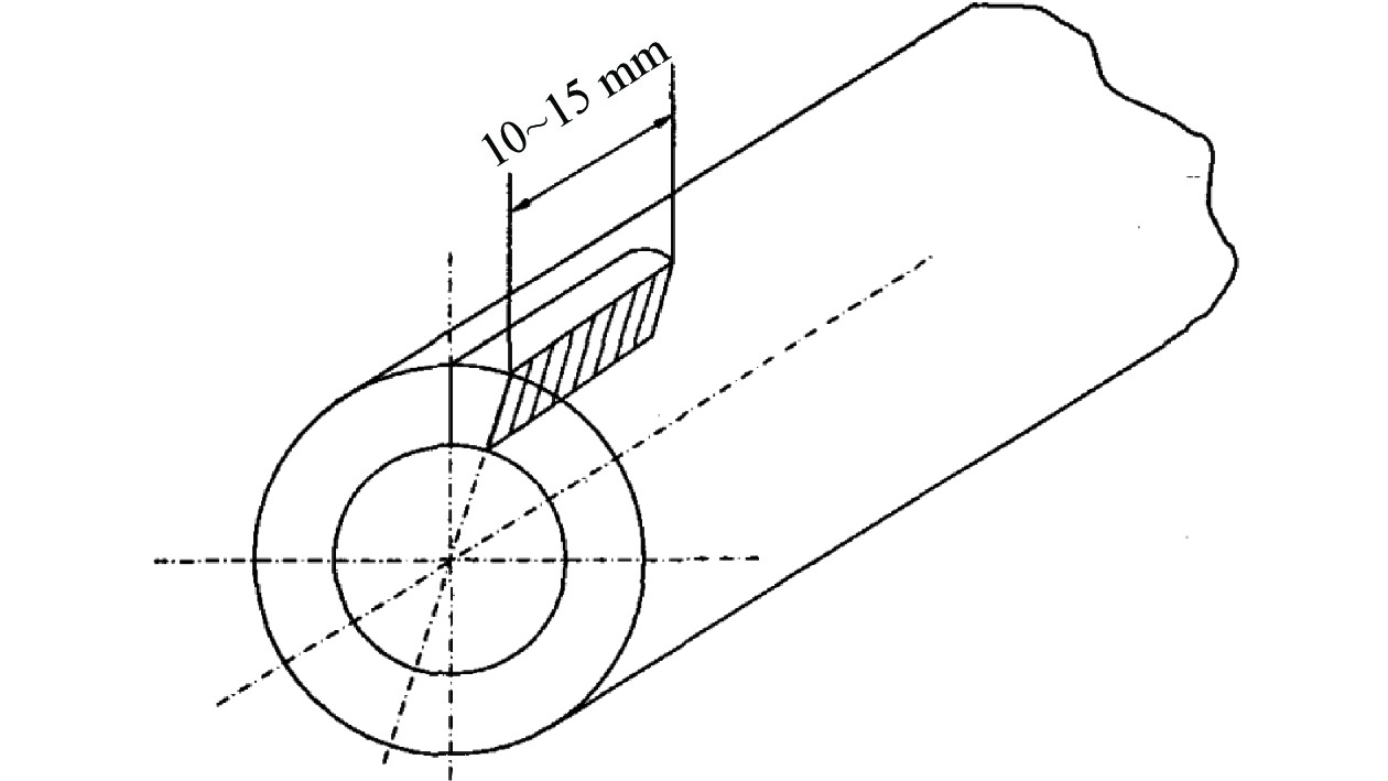
  • 图  1  GB/T 10561-2005标准中钢管取样方法

    Figure  1.  The sampling method for steel pipes proposed in the GB/T 10561-2005 standard

    图  2  公称壁厚≤25 mm钢管取样方法

    Figure  2.  The sampling method for steel pipe with the nominal wall thickness ≤25 mm

    图  3  公称壁厚>25 mm钢管取样方法

    Figure  3.  The sampling method for steel pipe with the nominal wall thickness > 25 mm

    图  4  显微镜B法的推荐扫描方式

    Figure  4.  Recommended scanning modes for the microscopy B method

    图  5  复合夹杂物评定

    Figure  5.  Evaluation of complex inclusions

    图  6  GB/T 10561-2005和GB/T 10561-2023标准中B类夹杂物0.5级和1级评级图对比

    Figure  6.  Comparison of Grade 0.5 and Grade 1 ratings of Class B inclusions in GB/T 10561-2005 and GB/T 10561-2023 standards

    表  1  GB/T 10561-2005标准中附录D公式计算值与其标准中表1数据对比

    Table  1.   Comparison of the calculated values in the formula in Appendix D of the standard GB/T 10561-2005 with the data in Table 1 of the present standard

    级别A类夹杂物总长度/μmB类夹杂物总长度/μmC类夹杂物总长度/μmD类夹杂物数量/个DS类夹杂物直径/μm
    附录D
    计算值
    标准中表1
    数据
    附录D
    计算值
    标准中表1
    数据
    附录D
    计算值
    标准中表1
    数据
    附录D
    计算值
    标准中表1
    数据
    附录D
    计算值
    标准中表1
    数据
    0.5373717171818111313
    112712777777676441919
    1.5262261184184176176992727
    243843634334332132016163838
    2.565264955555551051025255353
    390289882382274574636367676
    下载: 导出CSV

    表  2  夹杂物的检测结果

    Table  2.   Testing results of inclusions

    A B C D DS
    细系 粗系 细系 粗系 细系 粗系 细系 粗系
    2.0 0.5 2.5a 0 0 1.0b 1.0 0 0.5
    注:a)有一长度为930 μm的超长夹杂物;b)有一宽度为20 μm的超宽夹杂物。
    下载: 导出CSV

    表  3  权重因数

    Table  3.   Weighting factors

    级别权重因数
    0.50.05
    10.1
    1.50.2
    20.5
    2.51
    32
    3.55
    410
    4.520
    550
    下载: 导出CSV

    表  4  GB/T 10561-2023 与GB/T 10561-2005夹杂物测量值和夹杂物级别计算公式对照

    Table  4.   Comparison table of GB/T 10561-2023 and GB/T 10561-2005 inclusion measurement values and inclusion grade calculation formulas

    类型由夹杂物测量值计算各类型夹杂物级别公式由夹杂物级别计算各类型夹杂物测量值公式
    GB/T 10561-2023GB/T 10561-2005GB/T 10561-2023GB/T 10561-2005
    Alg(i)=[0.5617 lg(L)]-1.182lg(i)=[0.5605 lg(L)]-1.179lg(L)=[1.7802 lg(i)]+2.1038lg(L)=[1.7840 lg(i)]+2.104
    Blg(i)=[0.4633 lg(L)]-0.873lg(i)=[0.4626 lg(L)]-0.871lg(L)=[2.1583 lg(i)]+1.8853lg(L)=[2.1616 lg(i)]+1.884
    Clg(i)=[0.4797 lg(L)]-0.901lg(i)=[0.4807 lg(L)]-0.904lg(L)=[2.0845 lg(i)]+1.8783lg(L)=[2.0800 lg(i)]+1.880
    Dlg(i)=[0.5000 lg(n)]-0.301lg(i)=[0.5000 lg(n)]-0.301lg(n)=[2.0000 lg(i)]+0.602lg(n)=[2.0000 lg(i)]+0.602
    DSi=[3.3117 lg(d)]-3.211i=[3.3110 lg(d)]-3.220lg(d)=0.3020i+0.972lg(d)=0.3020i+0.972
    注:i为夹杂物级别,级;L为夹杂物长度,μm;d为夹杂物直径,μm;n为每个视场中的夹杂物数量,个。
    下载: 导出CSV

    表  5  GB/T 10561-2023标准中附录B公式计算值与其标准中表1数据对比

    Table  5.   The calculated values of formula B in Appendix of GB/T 10561-2023 standard compared with the data in Table 1 of the standard

    级别A类夹杂物总长度/μmB类夹杂物总长度/μmC类夹杂物总长度/μmD类夹杂物数量/个DS类夹杂物直径/μm
    附录B
    计算值
    标准中表1
    数据
    附录B
    计算值
    标准中表1
    数据
    附录B
    计算值
    标准中表1
    数据
    附录B
    计算值
    标准中表1
    数据
    附录B
    计算值
    标准中表1
    数据
    0.5373717171818111313
    112712777777676441919
    1.5261261184184176176992727
    243643634334332032016163838
    2.564964955555551051025255353
    389889882282274674636367676
    3.51181118111471147102910294949107107
    41498149815301530135913596464151151
    4.51848184819731973173717378181214214
    5222922302477247621642163100100303303
    下载: 导出CSV
  • [1] Li Bing, Wu Zhiwei, Chen Wenxiong, et al. Effect of deoxidizer on non-metallic inclusions in M50NiL steel[J]. Iron Steel Vanadium Titanium, 2023,44(3):177−182. (李兵, 吴志伟, 陈文雄, 等. 脱氧剂对M50NiL钢中非金属夹杂物的影响[J]. 钢铁钒钛, 2023,44(3):177−182.

    Li Bing, Wu Zhiwei, Chen Wenxiong, et al. Effect of deoxidizer on non-metallic inclusions in M50NiL steel[J]. Iron Steel Vanadium Titanium, 2023, 443): 177182.
    [2] Qin Chuanjiang, Huang Ao, Wang Lu, et al. Research on corrosion resistance of alumina-magnesia castable to high manganese-high aluminum moltensteel[J]. Journal of Iron and Steel Research, 2023,35(8):999−1007. (秦川江, 黄奥, 王璐, 等. 铝镁质浇注料抗高锰高铝钢液侵蚀研究[J]. 钢铁研究学报, 2023,35(8):999−1007.

    Qin Chuanjiang, Huang Ao, Wang Lu, et al. Research on corrosion resistance of alumina-magnesia castable to high manganese-high aluminum moltensteel[J]. Journal of Iron and Steel Research, 2023, 358): 9991007.
    [3] Bai Xuxu, Zhang Min, Zeng Jianhua, et al. Analysis of inclusions in the whole process of 20MnCr5 gear steel[J]. Iron Steel Vanadium Titanium, 2022,43(6):143−148. (白旭旭, 张敏, 曾建华, 等. 20MnCr5齿轮钢全流程夹杂物分析[J]. 钢铁钒钛, 2022,43(6):143−148. doi: 10.7513/j.issn.1004-7638.2022.06.021

    Bai Xuxu, Zhang Min, Zeng Jianhua, et al. Analysis of inclusions in the whole process of 20MnCr5 gear steel[J]. Iron Steel Vanadium Titanium, 2022, 436): 143148. doi: 10.7513/j.issn.1004-7638.2022.06.021
    [4] Zhang Yuexin, Zhang Lifeng, Wang Jujin, et al. Concepts and characteristic curves for the kinetic transformation of nonmetallic inclusions in liquid steel during solidification and cooling and in solid steel during heating process[J]. Chinese Journal of Engineering, 2023,45(3):369−379. (张月鑫, 张立峰, 王举金, 等. 钢液凝固与冷却过程及固体钢加热过程钢中非金属夹杂物成分动力学转变的几个概念和特征曲线[J]. 工程科学学报, 2023,45(3):369−379.

    Zhang Yuexin, Zhang Lifeng, Wang Jujin, et al. Concepts and characteristic curves for the kinetic transformation of nonmetallic inclusions in liquid steel during solidification and cooling and in solid steel during heating process[J]. Chinese Journal of Engineering, 2023, 453): 369379.
    [5] Yan Chunlian, Qin Hancheng, Qi Qige, et al. Three-dimensional quantitative characterization of non-metallic inclusions in steels[J]. Heat Treatment of Metals, 2023,48(3):280−286. (严春莲, 秦汉成, 其其格, 等. 钢中非金属夹杂物的三维定量表征[J]. 金属热处理, 2023,48(3):280−286.

    Yan Chunlian, Qin Hancheng, Qi Qige, et al. Three-dimensional quantitative characterization of non-metallic inclusions in steels[J]. Heat Treatment of Metals, 2023, 483): 280286.
    [6] Liu Chengsong, Hou Songwei, Liu Xiaoqin, et al. Optimization of refining slag for 30Cr1Mo1V steam turbine rotor steel[J]. Journal of Iron and Steel Research, 2022,34(10):1098−1107. (刘成松, 侯松威, 刘晓芹, 等. 30Cr1Mo1V汽轮机转子钢的精炼渣优化[J]. 钢铁研究学报, 2022,34(10):1098−1107.

    Liu Chengsong, Hou Songwei, Liu Xiaoqin, et al. Optimization of refining slag for 30Cr1Mo1V steam turbine rotor steel[J]. Journal of Iron and Steel Research, 2022, 3410): 10981107.
    [7] Cheng Rijin, Qi Zhan, Zhang Hua, et al. Optimization of refining slag of 20SiMn alloy structural steel[J]. Iron & Steel, 2023,58(1):100−107, 152. (成日金, 齐詹, 张华, 等. 20SiMn合金结构钢精炼渣系优化[J]. 钢铁, 2023,58(1):100−107, 152.

    Cheng Rijin, Qi Zhan, Zhang Hua, et al. Optimization of refining slag of 20SiMn alloy structural steel[J]. Iron & Steel, 2023, 581): 100107, 152.
    [8] Li Bin, Zhu Hangyu, Zheng Zhihao, et al. Effect of deoxidation methods on non-metallic inclusions in high-Al steel[J]. Journal of Iron and Steel Research, 2022,34(11):1240−1249. (李斌, 朱航宇, 郑志豪, 等. 脱氧方式对高铝钢中非金属夹杂物的影响[J]. 钢铁研究学报, 2022,34(11):1240−1249.

    Li Bin, Zhu Hangyu, Zheng Zhihao, et al. Effect of deoxidation methods on non-metallic inclusions in high-Al steel[J]. Journal of Iron and Steel Research, 2022, 3411): 12401249.
    [9] Xie Hongbo. Common problems in the determination of nonmetallic inclusions in steel using GB/T10561-2005 standard are discussed[J]. Modern Metallurgy, 2016,44(1):37−39. (谢洪波. 浅谈使用GB/T10561-2005标准测定钢中非金属夹杂物的常见问题[J]. 现代冶金, 2016,44(1):37−39.

    Xie Hongbo. Common problems in the determination of nonmetallic inclusions in steel using GB/T10561-2005 standard are discussed[J]. Modern Metallurgy, 2016, 441): 3739.
    [10] He Qunxiong, Sun Shiqiu. Introduction to steel-determination of content of nonmetallic inclusions-Micrographic method using standards diagrams GB/T 10561-2005[J]. Physical Testing and Chemical Analysis(Part A:Physical Testing), 2007(1):43−47. (何群雄, 孙时秋. GB/T 10561-2005钢中非金属夹杂物含量的测定——标准评级图显微检验法介绍[J]. 理化检验(物理分册), 2007(1):43−47.

    He Qunxiong, Sun Shiqiu. Introduction to steel-determination of content of nonmetallic inclusions-Micrographic method using standards diagrams GB/T 10561-2005[J]. Physical Testing and Chemical Analysis(Part A:Physical Testing), 20071): 4347.
    [11] Gu Yan, Meng Jiwei. Analysis of the revision of GB/T 10561 standard[J]. Physical Testing and Chemical Analysis(Part A:Physical Testing), 2023,59(8):22−27. (顾艳, 孟吉炜. GB/T 10561标准的修订解析[J]. 理化检验-物理分册, 2023,59(8):22−27.

    Gu Yan, Meng Jiwei. Analysis of the revision of GB/T 10561 standard[J]. Physical Testing and Chemical Analysis(Part A:Physical Testing), 2023, 598): 2227.
    [12] Cheng Lijie. Analysis and revision suggestions for GB/T 10561-2005 steel-determination of nonmetallic inclusions-micrographic method using standards diagrams[J]. Physics Examination and Testing, 2020,38(4):1−12. (程丽杰. 钢中非金属夹杂物标准评级图法解析及修订建议[J]. 物理测试, 2020,38(4):1−12.

    Cheng Lijie. Analysis and revision suggestions for GB/T 10561-2005 steel-determination of nonmetallic inclusions-micrographic method using standards diagrams[J]. Physics Examination and Testing, 2020, 384): 112.
    [13] Liu Guijiang, Cheng Lijie, Gu Qiang, et al. Discussion on non-metallic inclusion inspection standard GB/T 10561-2005[J]. Physical Testing and Chemical Analysis(Part A:Physical Testing), 2021,57(1):15−18. (刘桂江, 程丽杰, 谷强, 等. 对非金属夹杂物检验标准GB/T 10561—2005的探讨[J]. 理化检验(物理分册), 2021,57(1):15−18.

    Liu Guijiang, Cheng Lijie, Gu Qiang, et al. Discussion on non-metallic inclusion inspection standard GB/T 10561-2005[J]. Physical Testing and Chemical Analysis(Part A:Physical Testing), 2021, 571): 1518.
  • 加载中
图(6) / 表(5)
计量
  • 文章访问数:  1178
  • HTML全文浏览量:  1951
  • PDF下载量:  326
  • 被引次数: 0
出版历程
  • 收稿日期:  2023-12-18
  • 刊出日期:  2024-02-29

目录

    /

    返回文章
    返回