中文核心期刊

SCOPUS 数据库收录期刊

中国科技核心期刊

美国《化学文摘》来源期刊

中国优秀冶金期刊

美国EBSCO数据库收录期刊

RCCSE中国核心学术期刊

美国《剑桥科学文摘》来源期刊

中国应用核心期刊(CACJ)

美国《乌利希期刊指南》收录期刊

中国学术期刊综合评价统计源刊

俄罗斯《文摘杂志》来源期刊

优秀中文科技期刊(西牛计划)

日本《科学技术文献数据库》(JST)收录刊

留言板

尊敬的读者、作者、审稿人, 关于本刊的投稿、审稿、编辑和出版的任何问题, 您可以本页添加留言。我们将尽快给您答复。谢谢您的支持!

姓名
邮箱
手机号码
标题
留言内容
验证码

2021年  第42卷  第3期

综述与专论
2020年中国钛工业发展报告
贾翃, 逯福生, 郝斌
2021, 42(3): 1-9. doi: 10.7513/j.issn.1004-7638.2021.03.001
摘要(3386) HTML (2233) PDF(766)
摘要:
从2020年我国钛工业钛精矿、海绵钛、钛锭、钛材等品种的产能、产量、应用和进出口等数据分析了我国钛工业的整体情况,并对目前行业存在的问题提出了建议。
钛金属冶炼的生产成本以及新型钛冶金工艺的可能性
朱鸿民, 肖九三, 焦树强, 卢鑫
2021, 42(3): 10-16, 36. doi: 10.7513/j.issn.1004-7638.2021.03.002
摘要(1835) HTML (355) PDF(167)
摘要:
金属钛由于其优异的性能而被用作高端结构材料。然而,在我们的日常生活中金属钛的利用却非常有限。全球金属钛年产量仅为钛白粉的1/30,从金属钛的性能和其丰富资源储量来看是极其不自然的。制约金属钛广泛使用的主要因素是其昂贵的价格。比较了金属钛、铝以及钢铁从矿石原料到金属的生产过程,并分析了现行金属钛生产过程的成本构成。在此基础上,分析了迄今为止已开发的新型钛冶炼工艺,从缩短生产流程,尤其是减少化学反应步骤的角度出发,探讨简化冶金流程、降低生产成本的可能性。指出,比较而言,以钛铁矿FeTiO3作为起始原料,经过碳热还原制备碳氧化钛TiCxO1−x,进而熔盐电解制备金属钛的冶金流程,有望大幅度降低能耗和生产成本。有待解决的问题是碳氧化钛阳极的规模化加工,以及在实际电解过程的连续运行等。
钒钛分离与提取
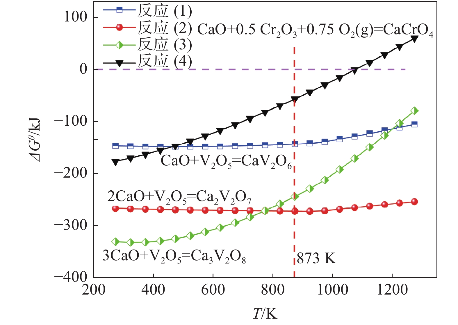
基于钒铬渣钙化焙烧过程的V2O5/Cr2O3-CaO体系固相反应扩散行为
孙红艳, 温婧, 陈泊键, 余唐霞, 姜涛
2021, 42(3): 17-24. doi: 10.7513/j.issn.1004-7638.2021.03.003
摘要(635) HTML (222) PDF(42)
摘要:
为探究钒铬渣钙化焙烧过程钒、铬组元与钙反应能力的差异,在热力学分析基础上,以V2O5、Cr2O3、CaO纯物质为原料,采用恒温焙烧法分别制备出V2O5-CaO与Cr2O3-CaO扩散偶。利用扫描电镜与能谱仪观测不同恒温时间后扩散界面的微观形貌以及产物层元素分布,分析恒温时间对固相界面反应的影响,并利用wagner方程对体系互扩散系数进行计算。结果表明:在空气气氛中873 K恒温焙烧9 h后,V2O5-CaO扩散偶界面产物层清晰,厚度与时间的平方根存在线性关系,说明该固相反应由扩散控速,产物以CaV2O6为主。而相同焙烧条件下,Cr2O3-CaO间未见明显的界面产物层,说明V2O5-CaO间固-固界面反应能力更强,其互扩散系数量级为10−10 cm2·s−1
硫酸法钛白短流程工艺水热合成高纯二氧化钛
田从学
2021, 42(3): 25-30. doi: 10.7513/j.issn.1004-7638.2021.03.004
摘要(638) HTML (409) PDF(51)
摘要:
以低浓度工业钛液经钛白短流程工艺水解所制的偏钛酸为原料,经水热工艺制备出高纯二氧化钛,考察了浆料浓度、水热温度、水热时间等对产物结构与纯度的影响,采用XRD、粒度分析、BET、SEM和TiO2含量测定等对样品进行了表征。认为:水热条件影响水热偏钛酸的溶解、成核、晶体生长、聚合与团聚等,并影响偏钛酸的结构、粒径分布和比表面积,改变其杂质吸附量,并最终影响高纯TiO2的结构与纯度。最佳水热条件为:料浆浓度160 g/L,水热温度140 ℃,水热时间36 h,所得高纯二氧化钛含量为99.99%。
新型溶剂热体系制备特殊暴露面锐钛矿TiO2纳米棒的合成研究
刘进
2021, 42(3): 31-36. doi: 10.7513/j.issn.1004-7638.2021.03.005
摘要(622) HTML (143) PDF(32)
摘要:
以四丁基氢氧化铵(TBAH)为形貌控制剂,采用一种新的无氟溶剂热反应体系,实现了特定晶面的可控合成,制备出了锐钛矿型TiO2单晶纳米棒材料。所获得的TiO2纳米棒主要由表面的{010}小平面控制。用该纳米棒制成的染料敏化电池(DSSCs)的短路电流密度Jsc约为10.9 mA/cm2,开路电压Voc约为0.74 V,光电功率转换效率约为5.75%;比用商业P25型 TiO2制成的DSSCs具有更为优异的电池性能,电池的短路电流密度、填充因子、功率转换效率分别提高了2.83%、10.94%和10.58%。在材料表征的基础上,对其形成机理进行了初步的探讨。
酸解残渣回收矿的酸解性能研究
吴健春, 路瑞芳, 石瑞成
2021, 42(3): 37-43. doi: 10.7513/j.issn.1004-7638.2021.03.006
摘要(686) HTML (232) PDF(47)
摘要:
以酸解残渣中通过磁选获得的磁选回收矿为原料,使用化学分析、XRD、SEM、岩相分析等手段对比了磁选回收矿与常规钛精矿在化学成分、物相结构、钛元素赋存状态等方面的差异,在此基础上,进行了酸解对比试验。结果表明:磁选回收矿TiO2品位约为38%,较钛精矿低约10%,其主要物相为钛铁矿约占65%,其次为石英和硅酸盐相,钛元素主要赋存于钛铁矿中约占87%。磁选回收矿粒度较小、表面有较多裂纹,单独酸解具有较好的酸解性能,但由于品位较低,其酸解钛液浓度偏低,不利于后期浓缩;磁选回收矿可与攀枝花PT20矿进行混合酸解,对酸解率无不良影响,添加比例在10%~15%时酸解率和过滤速度综合效果最佳,但是磁选回收矿和含镁较高的白马20矿混合酸解时,较高镁含量导致钛液比重增大,含硅絮凝物不易沉降,过滤速度慢。
高钛高炉渣硫酸酸浸液沸腾水解制备二氧化钛的研究
黄晨, 何思祺, 唐玉梅, 王岩, 孙红娟
2021, 42(3): 44-52, 93. doi: 10.7513/j.issn.1004-7638.2021.03.007
摘要(700) HTML (305) PDF(44)
摘要:
针对攀西地区高钛高炉渣有效处理不全面等问题,采用硫酸法对其钛组分进行提取,探究酸浸液沸腾水解过程中底液pH值、水解温度、加料速率、陈化时间以及二沸时间对Ti4+的水解率以及水解产物结构的影响,确定了最优水解条件。结果表明:底液pH值、水解温度、陈化时间对水解率及水解产物具有显著影响,底液pH值、加料速率以及陈化时间与水解产物的尺寸大小、分散性呈正相关,水解温度则与其呈负相关,二沸时间对其影响较小。最优水解条件为底液pH值1.7、水解温度105 ℃、加料速率6.6 mL/min、陈化时间25 min、二沸时间60 min,在此条件下Ti组分的水解率为90.71%,获得的偏钛酸经高温煅烧后为锐钛矿型二氧化钛,性能指标满足非颜料用二氧化钛的国家标准。
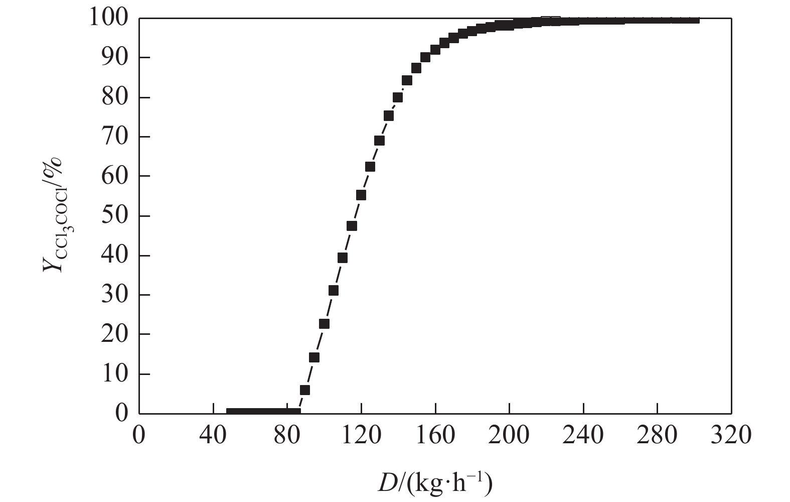
精馏法分离四氯化钛中有机杂质的模拟
黄森虹, 李良
2021, 42(3): 53-57. doi: 10.7513/j.issn.1004-7638.2021.03.008
摘要(1028) HTML (479) PDF(43)
摘要:
针对有机物精制除钒工艺生产的四氯化钛含有机杂质的现状,采用Aspen P1us模拟软件计算了除钒后四氯化钛中有机杂质的精馏分离过程,并结合灵敏度分析方法对精馏塔的设计参数进行了优化。结果表明,精馏塔的最佳设计参数如下:回流比为100,塔板数为68块,进料位置为第24块塔板,塔顶温度为64.38 ℃,塔底温度为155.06 ℃,塔顶馏出量为223 kg/h。此操作条件下,精馏后四氯化钛质量纯度可达99.9967%,收率达到99.0%以上,有机杂质和SiCl4主要汇入塔顶馏出物,其中CCl3COCl的收率大于99.0%,满足分离要求。
钒钛材料与应用
碳纤维支撑的钾离子调谐TiC/TiO2层状异质结复合催化剂制备研究
丰雪帆, 王化中, 王小明, 喻文瑞, 杨宇, 张福勤
2021, 42(3): 58-63. doi: 10.7513/j.issn.1004-7638.2021.03.009
摘要(696) HTML (197) PDF(31)
摘要:
采用原位生长方法制备了一种碳纤维为载体,通过钾离子(K+)调谐的具有TiC/TiO2层状异质结的复合催化剂,用FE-SEM、XRD、Raman、XPS和AFM对制备的催化剂进行了表征,并进行了光催化降解污染物罗丹明B试验。研究表明钾离子对异质结的调谐对光催化效率有重要影响。在紫外-可见光催化降解过程中,CFs@TiC/TiO2对污染物RhB的去除率达到98%。经过3次循环使用后,该复合材料对污染物光催化去除效率仍大于90%,表明能重复稳定使用。K+协同的原位生长过程经过熔盐体系在碳纤维(CFs)表面生长TiC,并在KOH水溶液中进行水热反应,将部分TiC转化为钛酸钾纳米粒子,随后将钛酸钾纳米颗粒浸泡在稀释的HCl溶液中,将酸中的H+交换为钛酸钾中的K+经过热处理和脱水后,纳米颗粒形成片状锐钛矿型TiO2,最终形成碳纤维支撑的TiC/TiO2层状异质结的CFs@TiC/TiO2复合催化剂。钛酸钾纳米晶形成的花状结构具有较大的比表面积,这种结构为制备CFs@TiC/TiO2复合材料构建了结构特征和催化活性位点。
射频等离子体制备增材制造用球形钛钽合金粉末
应真鸿, 谭冲, 施麒, 李贵发, 郑海忠, 刘辛
2021, 42(3): 64-73. doi: 10.7513/j.issn.1004-7638.2021.03.010
摘要(795) HTML (272) PDF(34)
摘要:
采用射频等离子体球化技术对氢化破碎不规则形貌的钛钽合金粉末进行球化处理,研究了送粉速率、载气流量和鞘气中氦气流量等工艺参数对钛钽合金粉末球化率、粉体性能和显微结构的影响,并开展了球化后钛钽合金粉末选区激光熔化成形适用性评价。结果表明:经过射频等离子体球化处理后,粉末截面组织由板条状α″-Ti和胞状β-Ti组成,球化率在98%以上,粒度分布变宽,平均粒径由球化前21.41 μm增大至32.3 μm。粉末球化率受送粉速率、载气流量和鞘气中氦气流量等因素影响,当送粉速率为35 g/min,载气流量为5.5 L/min,鞘气中氦气流量为40 L/min,球化效果最好。与原料粉末相比,球化后粉末的霍尔流速(50 g计)为6.27 s,松装密度由1.38 g/cm3提高至3.11 g/cm3,振实密度由2.54 g/cm3提高至3.48 g/cm3。此外,球化后的钛钽合金粉末具有良好的选区激光熔化适用性,成形后制件致密度大于99%,微观组织为针状α″-Ti和胞状β-Ti,钛、钽元素分布均匀,无未熔融的钽颗粒,显微硬度(HV)达到725。
Ti-10Mo-28Nb-3Zr-6Ta合金表面纳米氧化管的构建及生长机理分析
许莹, 夏朋昭, 魏子琰, 赵思坛, 蔡艳青
2021, 42(3): 74-81. doi: 10.7513/j.issn.1004-7638.2021.03.011
摘要(576) HTML (187) PDF(25)
摘要:
在Ti-10Mo-28Nb-3Zr-6Ta合金表面构建结构致密的纳米氧化管,同时探究纳米氧化管的生长机理。采用阳极氧化法,在含有1 mol/L H3PO4溶液和0.9 % NaF的混合溶液中,在25 V的直流电压下,氧化处理120 min,在Ti-10Mo-28Nb-3Zr-6Ta合金表面原位生成纳米氧化管;使用XRD对纳米氧化管的物相进行分析,进而得到纳米氧化管的成分;使用SEM对纳米氧化管的结构、形貌进行分析;采用HRTEM和EDS等对合金表面的纳米氧化管进行观测进而得出纳米氧化管的生长机理。研究表明:在Ti-10Mo-28Nb-3Zr-6Ta合金表面构建的纳米氧化管孔径为50~70 nm,管壁厚度约为15 nm,氧化管长度为100 nm,纳米管由非晶态的钛氧化物及锐钛矿型二氧化钛纳米晶组成。合金表面纳米氧化管的生长机理为:阳极氧化过程开始时,首先会在合金表面生成一层非晶态的钛的氧化层,而后在氧化电压和电解液作用下,在非晶态钛氧化层之上生成非晶态的纳米管。高温处理后,部分非晶态结构纳米管转化为锐钛矿型二氧化钛纳米晶粒。
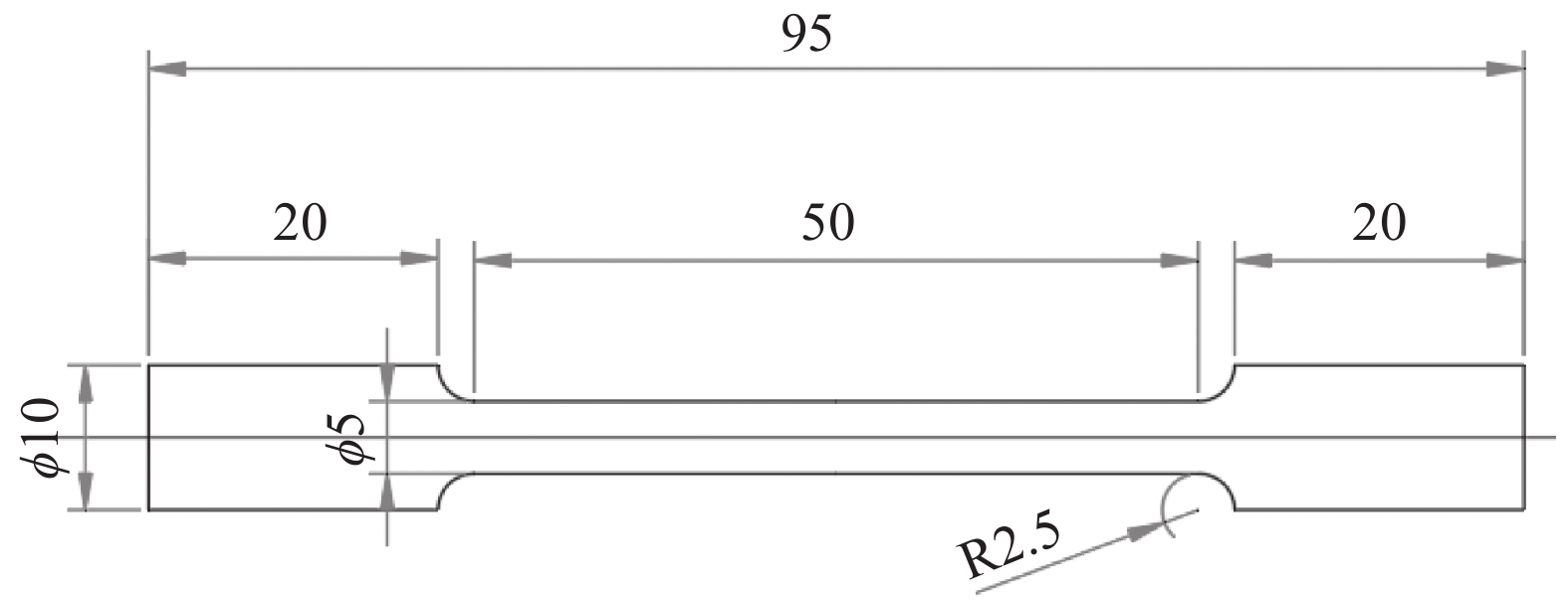
轴肩直径对Ti-6Al-4V钛合金搅拌摩擦焊接头组织和性能的影响
马世辉, 李积元
2021, 42(3): 82-87. doi: 10.7513/j.issn.1004-7638.2021.03.012
摘要(742) HTML (231) PDF(29)
摘要:
作为搅拌摩擦焊用搅拌头的重要尺寸,轴肩直径对焊接接头组织性能都产生影响。采用不同轴肩直径进行了2 mm厚Ti-6Al-4V钛合金搅拌摩擦焊试验,并进行了显微组织的金相(OM)分析和电子背散射衍射(EBSD)分析,以及力学性能的测试与分析。结果表明,当轴肩直径在8~14 mm时,2 mm厚Ti-6Al-4V钛合金搅拌摩擦焊接头焊核区晶粒先细化后粗化、接头抗拉强度和接头系数先提高后下降;当轴肩直径为12 mm时,焊核区晶粒最细小,平均晶粒尺寸~7 μm,接头抗拉强度和接头系数最高,分别为929 MPa、91%。
氧化石墨烯/石墨烯修饰热处理石墨毡复合电极材料制备研究
丁红宇, 黄秀丽
2021, 42(3): 88-93. doi: 10.7513/j.issn.1004-7638.2021.03.013
摘要(1098) HTML (258) PDF(80)
摘要:
通过高温热处理石墨毡,然后制备氧化石墨烯,并在氧化石墨烯基础上制备石墨烯,将氧化石墨烯和石墨烯与热处理石墨毡复合制备全钒液流电池正极材料。通过扫描电镜(SEM)、红外光谱(FTIR)、X-射线衍射分析(XRD)和电池充放电试验,测试分析石墨毡复合电极材料的表面形貌特征和电化学特性。结果表明:氧化石墨烯和石墨烯修饰的热处理石墨毡复合电极材料充放电性能增加。在电流密度30 mA/cm2条件下,氧化石墨烯/石墨毡复合电极电流效率高达94.713%,石墨烯/石墨毡复合电极电流效率高达96.482%。且热处理后石墨毡/石墨烯复合电极电化学活性最好。
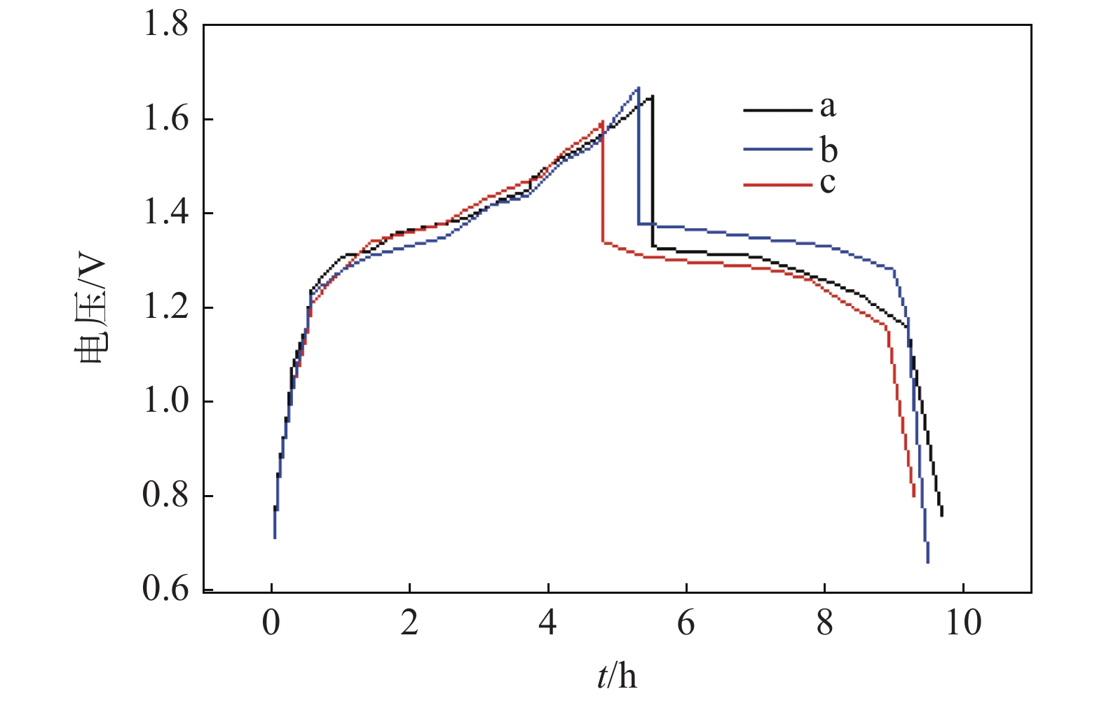
新型钒基新能源汽车电池负极合金的制备与性能研究
冯竞祥, 罗瑜清, 曹立祥
2021, 42(3): 94-98. doi: 10.7513/j.issn.1004-7638.2021.03.014
摘要(556) HTML (161) PDF(39)
摘要:
采用自蔓延高温合成法制备了添加不同含量合金元素Al或Cr的新型钒基新能源汽车电池负极合金V65Ti20Ni15,并进行了显微组织、电化学循环稳定性和耐腐蚀性能的测试与分析。结果表明,合金元素Al或Cr,有助于改善合金内部组织,提高合金的电化学循环稳定性和耐腐蚀性能;复合添加合金元素Cr和Al的V59Ti20Ni15Al3Cr3合金的电化学循环稳定性和耐腐蚀性能最佳。与不添加合金元素的V65Ti20Ni15合金相比,复合添加合金元素Cr和Al的V59Ti20Ni15Al3Cr3合金的充放电循环50次后放电容量衰减率从85%减小到23%、腐蚀电位正移692 mV,合金的电化学循环稳定性和耐腐蚀性能得到显著提高。
资源环境与节能
氯化法钛白副产物资源化利用研究
董林辉, 喻经纶, 范浩, 朱文渊, 李风亭, 伏振宇
2021, 42(3): 99-104. doi: 10.7513/j.issn.1004-7638.2021.03.015
摘要(875) HTML (163) PDF(43)
摘要:
以氯化法钛白粉生产过程中的副产物废盐酸和氯化尾气吸收液、工业氢氧化铝和七水硫酸亚铁为原料, 在双氧水催化氧化条件下, 制备得到一系列新型无机高分子混凝剂聚合氯化硫酸铝铁(PAFCS),其外观为红褐色透明液体, 体积密度1.39~1.43 g/cm3, 全铁与三氧化二铝(TFe+Al2O3)总含量≥10.5%, 可以用作水处理用混凝剂。与市售混凝剂相比,制备所得聚氯化硫酸铝铁对高化学需氧量(COD)的垃圾渗滤液生化尾水有较好的处理效果, COD去除率达到68.51%, 优于传统混凝剂聚合硫酸铁。高效聚合氯化硫酸铝铁的制备为我国氯化法钛白粉生产工艺中副产物的资源化利用提供了解决思路和可行方法。
金属铬冶炼及铬收率的影响因素研究
叶明峰, 师启华, 余彬, 陈海军
2021, 42(3): 105-110. doi: 10.7513/j.issn.1004-7638.2021.03.016
摘要(939) HTML (252) PDF(41)
摘要:
研究了攀钢自产高纯三氧化二铬冶炼98级金属铬的配料参数和铬收率的影响因素。结果表明:配加的还原剂金属铝会有一部分进入到产物金属铬中,为确保金属铬成分会间接限制铬收率的提高;金属铬冶炼过程较优的参数为单位炉料热量取值为3150 kJ/kg、配铝系数为0.96;添加氧化钙能显著提高铬元素收率,在CaO/Cr2O3为0.125时,铬收率最高为89.24%。采用攀钢自产高纯三氧化二铬可以冶炼出含V约0.043%的JCr98级金属铬,可满足下游用户的个性化要求。
石灰碱激发钛石膏复合胶凝材料强度机理分析
杨贺
2021, 42(3): 111-118. doi: 10.7513/j.issn.1004-7638.2021.03.017
摘要(648) HTML (268) PDF(38)
摘要:
以钛石膏、脱硫石膏和钛矿渣三种钛工业固体废弃物为主要原料,石灰作碱性激发剂制作钛石膏复合胶凝材料。采用正交试验,结合XRD、SEM等分析测试方法,对石灰碱激发钛石膏复合胶凝材料强度机理进行分析。结果表明:钛石膏的掺量在42.9%~50.3%,可以制作出强度达到《建筑石膏》(GB/T 9776—2008)2.0强度等级的钛石膏复合胶凝材料。石灰碱激发钛石膏复合胶凝材料的前期强度主要来自钛石膏和脱硫石膏水化产生的二水石膏,后期强度主要来自水泥、石灰和石膏进一步反应产生钙矾石。其水化机理为:第一,CaSO4·0.5H2O水化产生CaSO4·2H2O;第二,水泥中的3CaO·Al2O3与CaSO4·2H2O反应生成钙矾石,石灰与水反应产生Ca(OH)2,结合CaSO4·2H2O和CaO·Al2O3反应产生钙矾石,进一步提升钛石膏复合胶凝材料的强度。
高碳铬铁合金渣用于C40混凝土试验研究
杨飞, 孙晓敏
2021, 42(3): 119-124. doi: 10.7513/j.issn.1004-7638.2021.03.018
摘要(625) HTML (176) PDF(32)
摘要:
以高碳铬铁合金渣作为粗细集料来配制C40混凝土,通过对含高碳铬铁合金渣混凝土抗压强度、抗氯离子渗透性能和抗碳化性能等进行试验研究,对六价铬离子Cr(VI)在水泥混凝土中固化效果进行了评价。结果表明:高碳铬铁渣骨料混凝土养护28 d的抗压强度高于普通C40碎石混凝土。由于高碳铬渣的表面多孔和较高的孔隙率,导致用高碳铬渣制备的混凝土抗氯离子渗透性能和抗碳化性能优于对照组,而混凝土浸泡90 d的铬离子表面浸出浓度低于标准规定铬离子0.05 mg/L的临界允许浓度,从应用和环境的角度初步说明高碳铬铁合金渣作为骨料配制C40混凝土基本可行。
钢铁冶金与材料
碱度对石钢烧结矿矿相结构及冶金性能的影响
刘丽娜
2021, 42(3): 125-129. doi: 10.7513/j.issn.1004-7638.2021.03.019
摘要(982) HTML (272) PDF(40)
摘要:
采用偏光显微镜研究了石钢不同碱度烧结矿的矿物组成及显微结构特征,烧结矿矿相结构与冶金性能之间的关系。研究发现:随着碱度的升高,烧结矿矿物组成简单化,粘结相含量升高,其中铁酸钙含量增加明显;显微结构均匀化,由斑状-粒状结构过渡为交织熔蚀结构,气孔率升高,出现骸晶状及菱形定向排列的赤铁矿,铁酸钙由他形晶形态过渡为针状形态。相应的烧结矿强度、还原性能及低温还原粉化性能有所改善。
不同气源条件下熔渣泡沫化的高温模拟
胡超, 王瑞芳, 张波, 李梦伟, 刘承军, 姜茂发
2021, 42(3): 130-134. doi: 10.7513/j.issn.1004-7638.2021.03.020
摘要(556) HTML (183) PDF(43)
摘要:
熔渣泡沫化的有效控制对冶金工艺的稳定控制具有重要的现实意义。开展了外引和内生两种气源条件下熔渣泡沫化的高温模拟研究,得到如下结论:在外引气源条件下,泡沫渣由尺寸为7~15 mm的多面体气泡堆积而成,泡沫化高度随气体流量增加先升高后降低;在内生气源条件下,泡沫渣由尺寸为0.5~1.0 mm的球形气泡堆积而成,泡沫化高度随气体产生量的增加和熔渣碱度的降低而升高。典型炼钢辅料的消泡效果对比如下:活性石灰>纯碱>石灰石>白云石>菱镁矿。
微波原位还原制备Fe/Fe2SiO4基金属陶瓷的研究
高陈波, 徐鹏飞, 阮飞, 李红霞
2021, 42(3): 135-142. doi: 10.7513/j.issn.1004-7638.2021.03.021
摘要(597) HTML (302) PDF(30)
摘要:
以磁选铁精矿为主要原料,高岭土作为添加剂采用微波原位还原制备Fe/Fe2SiO4基金属陶瓷。概括介绍了利用微波加热原位还原磁选铁精矿研制铁基金属陶瓷的理论基础、主要技术路线和反应机理,结合XRD、SEM等分析测试方式,探究了高岭土添加含量对铁基金属陶瓷复合材料的物相、物理性能及微观组织的影响,为微波加热还原磁选铁精矿制备铁基多功能陶瓷材料的相关研究领域提供参考,对于促进矿产资源的高效综合利用具有重要的意义。结果表明:当烧结温度为835 ℃,保温时间为1 h,高岭土含量为15%时,制备的铁基金属陶瓷的综合性能最优,其主晶相为α-Fe,密度为5.56 g/cm3,维氏硬度值为7.35 GPa。
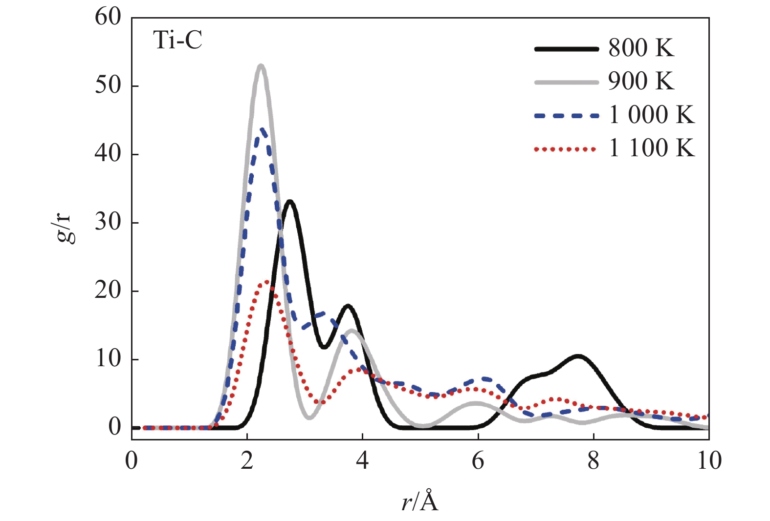
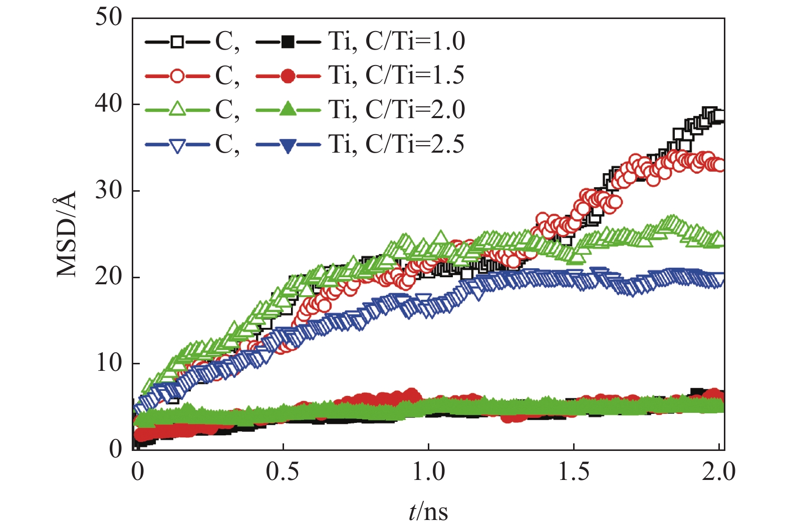
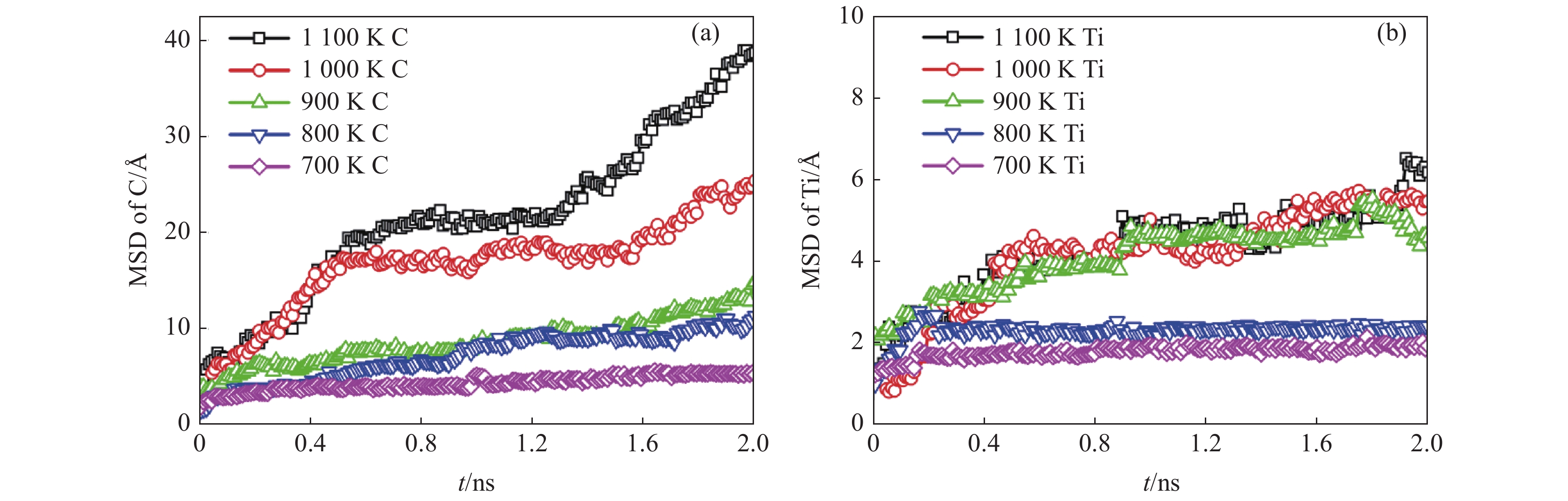
碳化钛颗粒形成过程中原子扩散行为研究
吕亚男, 陈栋
2021, 42(3): 143-147. doi: 10.7513/j.issn.1004-7638.2021.03.022
摘要(814) HTML (170) PDF(56)
摘要:
为了明晰金属碳化物沉淀在铁合金中的形成机理,解决宏观试验无法直接研究碳化物沉淀形成初期的局限性,以碳化钛为研究对象,采用分子动力学模拟方法,研究了碳化钛纳米颗粒形成过程中,碳原子和钛原子的扩散行为,考察了碳化钛颗粒形成过程中温度和碳原子浓度对原子扩散的影响规律。研究结果表明,原子的扩散行为对碳化钛颗粒形成起到关键作用。扩散过程中,扩散系数较低的钛原子对碳化钛的形成起决定作用。钛原子和碳原子的扩散能力随温度的提高而增加,但随碳原子浓度的增加而降低。
热处理工艺对Cr12MoV钢组织及硬度的影响
杜思敏, 李雄, 林发驹
2021, 42(3): 148-154. doi: 10.7513/j.issn.1004-7638.2021.03.023
摘要(2677) HTML (593) PDF(101)
摘要:
采用金相显微镜、XRD射线衍射仪及维氏硬度计等,研究了普通热处理和深冷处理工艺对Cr12MoV钢显微组织及硬度的影响。结果表明:Cr12MoV钢经普通热处理和深冷处理淬火后的组织均为隐针马氏体+残余奥氏体+碳化物,200 ℃低温回火后组织转变为回火马氏体+碳化物+残余奥氏体。深冷处理可大幅减少钢中残余奥氏体,提升钢的硬度;热处理采用1020 ℃加热保温60 min淬火+(−196 ℃)深冷2 h+200 ℃回火保温120 min,硬度(HV30)值最高,可达780。
不同熔覆参数下的AlFeCrCoNiTi高熵合金涂层的高温摩擦磨损性能
崔少伟, 王树奇, 姜伟, 刘喜艳
2021, 42(3): 155-161, 192. doi: 10.7513/j.issn.1004-7638.2021.03.024
摘要(506) HTML (151) PDF(29)
摘要:
选取H13钢进行激光熔覆,获得激光熔覆涂层,并进行了微观组织和硬度分析。采用销—盘式高温磨损试验机研究了H13钢及各个涂层的高温磨损行为。采用SEM、EDS以及XRD等微观分析手段对各个涂层上的磨面进行形貌、成分及物相分析,并探讨磨损机理。结果表明:不论温度的高低与载荷的大小,激光熔覆涂层的磨损量都比H13钢的磨损量低一个数量级。400 ℃下,涂层的磨损失重速度高于涂层的氧化增重速度,因此,涂层整体呈现失重的趋势;600 ℃下,涂层的磨损失重速度低于涂层的氧化增重速度,因此,涂层整体呈现增重的趋势。涂层1具有最好的抗高温软化能力,不论在400 ℃还是600 ℃下摩擦层表面都可以保持完整。涂层2的抗高温软化能力最弱。在400 ℃下,在载荷仅为50 N时就出现摩擦层表面大面积剥落;在600 ℃下,其挤出程度较其他两个摩擦层更为严重。涂层3的抗高温软化能力弱于涂层1的但高于涂层2。在400 ℃,下低载时,摩擦层保持完整,高载时,摩擦层发生大面积剥落;在600 ℃下,其挤出程度较为严重但轻于涂层2。
冷轧辊用半高速钢碳化物细化工艺技术研究
林发驹, 李雄, 吴铖川
2021, 42(3): 162-171. doi: 10.7513/j.issn.1004-7638.2021.03.025
摘要(669) HTML (217) PDF(33)
摘要:
基于Thermo-Calc热力学软件计算及原位观察结果,开展冷轧辊半高速钢95Cr5MoV碳化物细化技术研究。95Cr5MoV半高速钢平衡凝固碳化物类型主要有MC、M7C3和M23C6,其中M23C6型碳化物在785 ℃左右完全溶入基体,M7C3型碳化物在1100 ℃时完全溶入基体,MC型碳化物在1170 ℃左右完全溶入基体;采用高温共聚焦显微镜试验观察发现,大块状MC型碳化物在960 ℃时开始溶解,当温度升高到1170 ℃左右时,溶解加速,但一直到1217 ℃碳化物周围的基体开始局部熔化时仍然部分存在,表明非平衡态的溶解温度高于平衡态。为细化碳化物,实验室采用“1100 ℃高温固溶+880 ℃三次循环+740 ℃退火”的新热处理工艺后,大块液析碳化物尺寸明显减小,且组织均匀性好,并在工业化生产中验证了该工艺的可靠性。
激光熔覆过程数值模拟研究现状
何逵, 曹知勤, 王玥坤, 张雪峰
2021, 42(3): 172-179. doi: 10.7513/j.issn.1004-7638.2021.03.026
摘要(1781) HTML (248) PDF(128)
摘要:
激光熔覆是新型的增材制造及表面修复技术,已成为当今工业领域的研究热点。利用激光熔覆技术制备高性能的合金涂层,能够显著提高基材的耐磨、耐腐蚀、使用寿命等性能。通过对激光熔覆过程的温度场、残余应力、组织形变等的数值模拟研究进行阐述,总结了国内外目前针对上述物性参数的分布及演变规律分析所使用的数值模拟方法,揭示了残余应力、组织形变形成的机理,为获得高质量的熔覆涂层提供了一定的理论指导基础。展望了数值模拟技术在激光熔覆过程中的未来发展趋势。
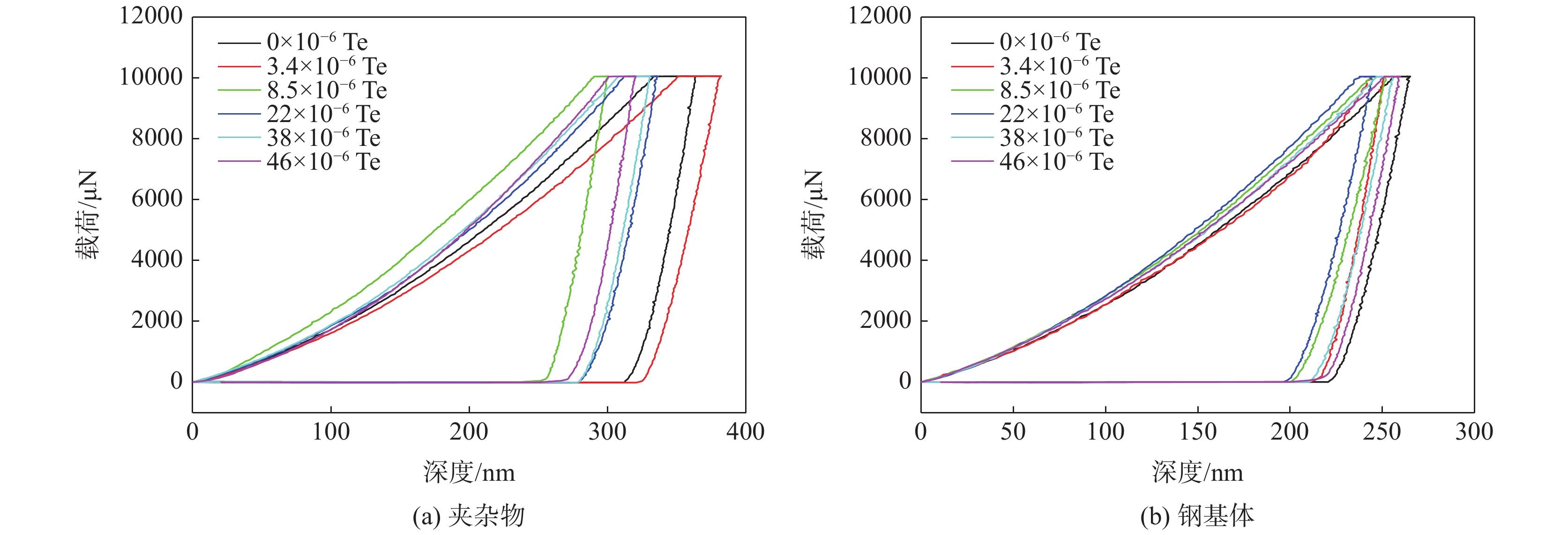
碲对硫化物轧制变形行为影响的研究
沈平, 王冬, 张浩, 杨乾坤, 艾克南, 曾志崎, 付建勋
2021, 42(3): 180-186. doi: 10.7513/j.issn.1004-7638.2021.03.027
摘要(704) HTML (181) PDF(27)
摘要:
采用扫描电镜对38MnVS6钢中Te的赋存状态进行了分析,采用Gleeble-3500模拟了轧制过程。对MnS夹杂和基体的硬度进行了检测,并对夹杂物进行了统计,由此对夹杂物的变形行为进行研究。结果表明,少量的Te首先固溶在MnS中,当Te含量超过130×10−6时开始析出MnTe。经过热压缩后,随着Te含量的增加,夹杂物的长宽比从2.3逐渐降低至1.8左右。钢中Te含量增加,夹杂物与钢基体的硬度比H/H基本为一个常数,不能造成夹杂物的抗变形能力增加。经过热压缩后,较小的夹杂物其长宽比也较小。钢中加Te后可使夹杂物尺寸减小,进而减小了夹杂物的变形量,抑制了轧制过程中夹杂物的变形。
弹簧钢55SiCrV的微合金化及热处理工艺研究
蒙坚
2021, 42(3): 187-192. doi: 10.7513/j.issn.1004-7638.2021.03.028
摘要(1485) HTML (353) PDF(116)
摘要:
在弹簧钢55SiCr成分基础上进行钒微合金化处理,获得了55SiCrV,通过淬火+回火正交试验、显微组织观察、力学性能测试和X射线衍射等手段,研究并分析了淬火+回火工艺对弹簧钢55SiCrV微观组织和力学性能的影响,结果表明:0.20%V的添加可使55SiCrV组织中存在大量弥散均匀分布的10~35 nm含钒析出相,强化效果最佳。淬火+回火处理可以改变55SiCrV的显微组织比例,其中的残余奥氏体可以降低强度和增加塑性,55SiCrV获得最佳力学性能匹配(Rm=1 815 MPa、Z=28%)的热处理工艺为900 ℃淬火+430 ℃回火,对应其残余奥氏体含量为2.3%。
机械零件用含钒压铸铝合金的性能优化
吴刚, 刘之强
2021, 42(3): 193-198. doi: 10.7513/j.issn.1004-7638.2021.03.029
摘要(503) HTML (171) PDF(28)
摘要:
采用不同压射比压和压射速度进行了机械零件用含钒压铸铝合金Al-10Si-2.5Cu-0.3V的压铸试验,并进行了合金力学性能和耐磨损性能的测试与分析。结果表明:随压射比压由650 MPa增大到750 MPa、压射速度从250 mm/s加快到450 mm/s时,合金的力学性能和耐磨损性能均先提高后下降。合金的压射比压优选725 MPa、压射速度优选350 mm/s。与压射比压650 MPa相比,当压射比压增加到725 MPa时合金的抗拉强度增大18 MPa、断后伸长率减小0.6%、磨损体积减小8×10−3 mm3。与压射速度450 mm/s相比,当压射速度为350 mm/s时合金的抗拉强度增大20 MPa、断后伸长率减小0.7%、磨损体积减小了10×10−3 mm3
高速车轮钢包裹类非金属夹杂物研究
李向阳, 吴旺朋, 陈艳, 赵海, 沈昶, 何宜柱
2021, 42(3): 199-204. doi: 10.7513/j.issn.1004-7638.2021.03.030
摘要(761) HTML (188) PDF(28)
摘要:
为评估高速车轮钢中包裹类夹杂物的包裹状态,利用扫描电镜和ASPEX型自动扫描电镜对高速车轮钢中核壳结构包裹类非金属夹杂物进行分析研究,包括核壳结构包裹类非金属夹杂物形貌、成分,包括核和壳、包裹类夹杂物和基体界面的成分,统计分析了核和壳的尺寸。研究表明,核壳结构包裹类非金属夹杂物一般呈椭圆形,长度主要分布在1~10 μm,包裹外壳主要成分为塑性的MnS夹杂,包裹厚度不均匀,一般为0~2.26 μm。被包裹的核以脆性夹杂物Al2O3为主,核的尺寸较小,一般为0.31~1.43 μm。从夹杂物核心到外壳存在成分梯度,推断包裹夹杂物外层MnS和Al2O3间为化学结合。采用JMatPro热力学软件计算,结果表明,S和Mn尤其是S含量的增加可以提高MnS的析出温度,有助于形成MnS包裹Al2O3的核壳类非金属夹杂物,从而改善高速车轮钢的疲劳性能。