2022 Vol. 43, No. 5

Separating and Extracting of Vanadium and Titanium
Global vanadium industry development report 2021
Wu You, Chen Donghui, Liu Wuhan, Sun Zhaohui, Zhang Bangxu, He Rui
2022, 43(5): 1-9. doi: 10.7513/j.issn.1004-7638.2022.05.001
Abstract(2842) HTML (679) PDF(565)
Abstract:
The overall situation of the global vanadium industry was elaborated and analyzed from the global vanadium resources and the production capacity, the output, supply and demand, import and export, as well as the market prices in 2021. The major events in the global vanadium battery field are also introduced. Based on the current operating situation of the vanadium industry at home and abroad, the outlook for the market is forecasted, and it is believed that compared with "manufacture green cleaning products", the level of "green manufacturing" of the industrial ontology still needs to be continuously improved and balanced. The global vanadium price is affected by multiple factors, and will still show shock and consolidation trend. In the next few years, China will still be the world's largest vanadium supply and demand market, and the production capacity expansion of industrial supply side will accelerate. The medium and long-term vanadium demand will be supported by steel, materials and energy storage fields.
Research progress on purification and enrichment of vanadium-bearing acid leaching solution
Zhu Siqin, Ye Guohua, Kang Xuanxiong, Liang Xueyin
2022, 43(5): 10-22. doi: 10.7513/j.issn.1004-7638.2022.05.002
Abstract(1213) HTML (516) PDF(97)
Abstract:
On the basis of analyzing the characteristics of vanadium-bearing acid leaching solution, the study development of purification and enrichment of this solution was reviewed. The most attention has been paid to solvent extraction and ion exchange presently. Herein, acidic phosphorus extractants have poor selectivity, neutral phosphorus extractants are generally used as synergists or modifiers and alkaline amines extractants are prone to produce the third phase in the operation process. Besides, ionic liquids have shown favorable application prospects in the field of extraction. However, problems such as large-scale preparation remain to be solved. Anion exchange resins are suitable for most pH conditions, but chelating resins are more suitable in strong acid environment (pH < 2). The traditional chemical precipitation method is more suitable for preliminary treatment or the relatively simple vanadium-bearing acid leaching solution system. Although electroadsorption method has high extraction efficiency, it is still at the stage of laboratory exploration. The extractant in solvent impregnated resin is easy to be lost during use, so it is difficult to be widely popularized. Finally, the research direction of the purification and enrichment of vanadium-bearing acid leaching solution in the future was proposed.
Study on preparation of high-quality ultrafine TiB2 powder by short process melting method
Li Wenjing, Li Defu, Xin Yanan, Tang Min
2022, 43(5): 23-29. doi: 10.7513/j.issn.1004-7638.2022.05.003
Abstract(572) HTML (287) PDF(60)
Abstract:
Based on research background and market competitive advantage of the enterprise production, a method of preparing high-quality ultrafine TiB2 powder with short process by melting method was proposed in this paper. This method is high yield, short production cycle and no environmental pollution, by which advanced ultrafine TiB2 powder with certain industrial extensibility was prepared using cheap titanium source, boron(B) source and nonhazardous reducing agent with short process and low cost. The effects of the selection of titanium and B sources, the proportion of molten salt, the synthesis temperature of high-quality powder, Ti/B molar ratio and holding time on the synthesis of TiB2 powder were studied. The phase composition and microstructure of the powder were characterized by XRD and SEM. The results show that when the molar ratio of NaCl/KCl mixed salt is 1∶1 and the molar ratio of TiO2/B is 3∶10, TiB2 begins to form when the reactant is kept at 700 ℃ for 2 h. With the increase of temperature, the purity of the target product in the product gradually improves. The pure target product can be obtained only when the holding temperature reaches 950 ℃ without other by-products. The morphology of powder is cubic, sharp edges and corners. The particle size is about 150 nm. If the holding time is changed, the pure target product can be obtained at 900 ℃ with 5 h of holding time.
Study on enrichment of titanium resources by treating titanium middling ore with KOH sub molten salt
Zou Min, Wang Qilin, Jiang Wenshi
2022, 43(5): 30-34, 44. doi: 10.7513/j.issn.1004-7638.2022.05.004
Abstract(535) HTML (231) PDF(44)
Abstract:
The treatment of titanium middling ore with KOH sub molten salt was studied to realize the enrichment of titanium resources. The effects of reaction temperature, reaction time, alkali concentration and particle size on the decomposition of titanium middling ore were investigated, and the phase of the product was analyzed by X-ray diffraction. The following conclusions were drawn. Firstly, the effective decomposition can be realized by treating titanium middling ore with KOH sub molten salt. The better process parameters include stirring speed of 400 r/min, alkali residue mass ratio of 6∶1, reaction temperature of 240 ℃, reaction time of 180 min, alkali concentration of 80%, raw material particle size of 70~80 µm. Under these reaction conditions, the decomposition rate of titanium in the ore is more than 99% , while the decomposition rate of aluminum and silicon is more than 98% and 85%, respectively. Secondly, X-ray diffraction analysis shows that the decomposition product of sub molten salt is mainly potassium hexatitanate (K2Ti6O13) after calcination at 800 ℃ for 3 h, indicating that KOH can effectively decompose titanium middling ore and remove aluminum, silicon and other elements.
Study on the effect of addition of zinc-based salt treatment agent on the performance of TiO2
Wu Jianchun, Lu Ruifang, Sun Qiang, Shi Ruicheng, Liu Chan
2022, 43(5): 35-39. doi: 10.7513/j.issn.1004-7638.2022.05.005
Abstract(645) HTML (246) PDF(39)
Abstract:
Using metatitanic acid as a raw material, adding different proportions of salt treatment agents to metatitanic acid, and adjusting the calcination temperature to prepare TiO2 with a rutile content of 98% to 99%. The influence of K2O, P2O5, ZnO addition on the calcination temperature and the properties of TiO2 pigments were investigated. Then the morphology and particle size distribution of the TiO2 were analyzed by SEM. The results show that the calcination temperature and the ZnO addition are linearly negatively correlated, while the K2O and P2O5 additions are linearly positively correlated. With the increase of the amount of ZnO, the calcination temperature required for rutile to be qualified is correspondingly reduced. With the increase of the amount of K2O and P2O5, the calcination temperature for rutile to be qualified increases accordingly. With the increase of K2O, both TCS and SCX showed a trend of first increase and then decrease; with the increase of P2O5, TCS showed a downward trend, and SCX showed an overall upward trend; with the increase of ZnO, TCS showed a trend of first increase and then decrease. When rutile is qualified, the average particle size of titanium dioxide shows an increasing trend with the increase of K2O content in the zinc-based salt treatment formula,, and the coefficient of variation first decreases and then increases. With the increase of P2O5 and ZnO content, the average particle size of the titanium dioxide shows a downward trend, and the coefficient of variation first decreases and then increases. The optimal dosage range for K2O is between 0.34% and 0.38%, P2O5 0.03% to 0.05% and ZnO 0.10% to 0.13%.
Study on impurity removal process of titanium tetrachloride produced by boiling chlorination
Dai Yingjie, Wei Zhizhong, Wang Lijuan, Duo Yunxia, Li Yajun
2022, 43(5): 40-44. doi: 10.7513/j.issn.1004-7638.2022.05.006
Abstract(767) HTML (181) PDF(49)
Abstract:
Boiling chlorination has become the mainstream production method of tetrachloride production due to its advantages of high production efficiency, low cost, little environmental pollution and high automation. Combined with the research practice in Sunrui Wanji titanium industry company, this paper mainly discussed the process of removing aluminum, vanadium and solid impurities in titanium tetrachloride during the process of boiling chlorination production. By combining the on-line detection technology of oxygen and carbon impurities in refined titanium tetrachloride to accurately remove aluminum, we independently developed and designed a chlorination furnace multi-cyclone separation system, titanium tetrachloride centrifugal separation system and vacuum stirring evaporation system to remove the solid particle impurities in titanium tetrachloride, which can meet the requirements of high-quality titanium tetrachloride preparation. And it is believed that the vanadium removal by organic matter and the environmentally friendly recycling technology of solid particles in titanium tetrachloride will become the mainstream production technologies of titanium tetrachloride industry.
Application of Vanadium and Titanium
Regulation on electronic structure of VN-based materials for enhanced supercapacitor performances
Zhang Dongbin, Chang Zhi, Teng Aijun, Liu Tianhao, Dai Yu, Peng Xianzhu, Du Guangchao, Kang Ju
2022, 43(5): 45-51. doi: 10.7513/j.issn.1004-7638.2022.05.007
Abstract(835) HTML (206) PDF(89)
Abstract:
In this paper, a method to improve the electrochemical performances of VN-based materials by electronic structure regulation is proposed. By Fe doping, the electronic structure of VN-based materials was modified for better electrochemical performances. XRD, HRTEM, XPS and other methods were used to characterize the effect of Fe on the microstructure and electronic structure of VN-based materials. Combined with the DFT calculation, it shows that the electron/ion transport capacity of VN-based materials is changed by introduction of Fe element, which endows the as-prepared Fe-VN material with excellent supercapacitor performances. The specific capacity is 343.75 F/g at a current density of 1 A/g, and 85% of the initial capacity can be retained after 1000 charge-discharge cycles.
Investigation of the effect of Ce on the K resistance of V-Mo/Ti de-NOx catalyst
Huang Li, Yue Yanwei, Zong Yuhao, Wang Hu, Li Jinke, Gao Yibo, Han Pei
2022, 43(5): 52-58. doi: 10.7513/j.issn.1004-7638.2022.05.008
Abstract(512) HTML (275) PDF(34)
Abstract:
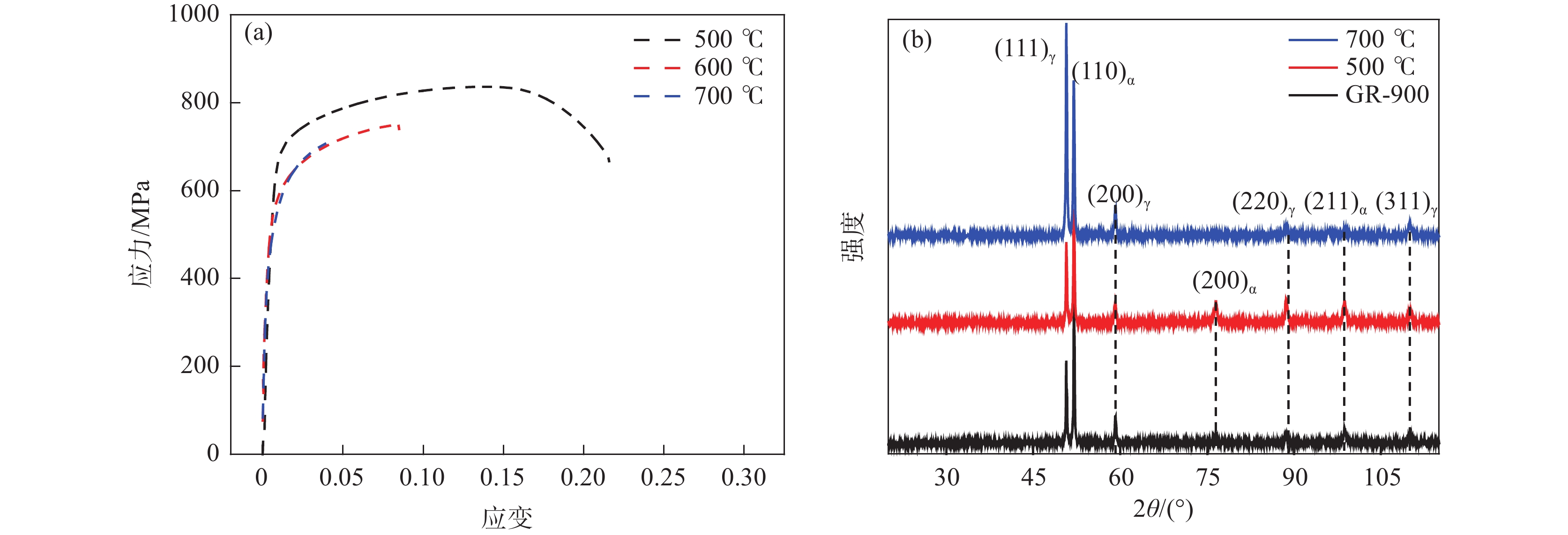
Industrial V-Mo/Ti catalyst for denitrification was modified by Ce in order to enhance its resistance to K. XRD, SEM, N2-adsorption/desorption, H2-TPR, XPS, NH3-TPD, and NH3-DRIFTS analyses were used to characterize the physiochemical properties of the different catalysts. Subsequently, the influence of Ce on the catalytic performance and K resistance of V-Mo/Ti catalyst was studied by a fix-bed micro-reactor. The results show that the presence of Ce can enhance the catalytic activity of V-Mo/Ti catalyst, and effectively reduce the negative impact of K on the BET surface area, reducibility, Oα/(Oα+Oβ) ratio, and acidity of V-Mo/Ti catalyst. The catalytic activity of V-Mo-Ce-K/Ti catalyst is higher than that of the V-Mo-K/Ti catalyst. In other words, Ce enhances the K resistance of V-Mo/Ti catalyst.
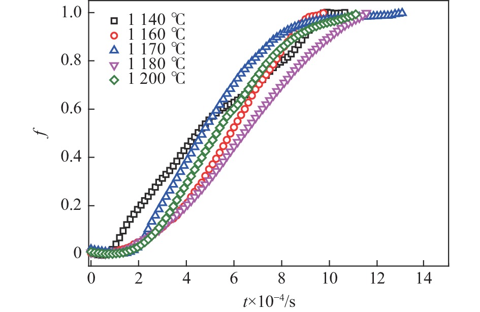
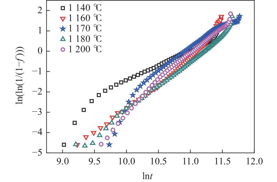
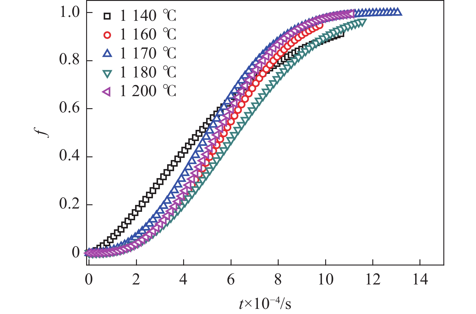
Phase transformation kinetics of high Nb-TiAl alloy during isothermal treatments
Li Ying, Tian Shuxia, Fan Jianglei, Wang Yan, Liu Jianxiu
2022, 43(5): 59-64. doi: 10.7513/j.issn.1004-7638.2022.05.009
Abstract(672) PDF(57)
Abstract:
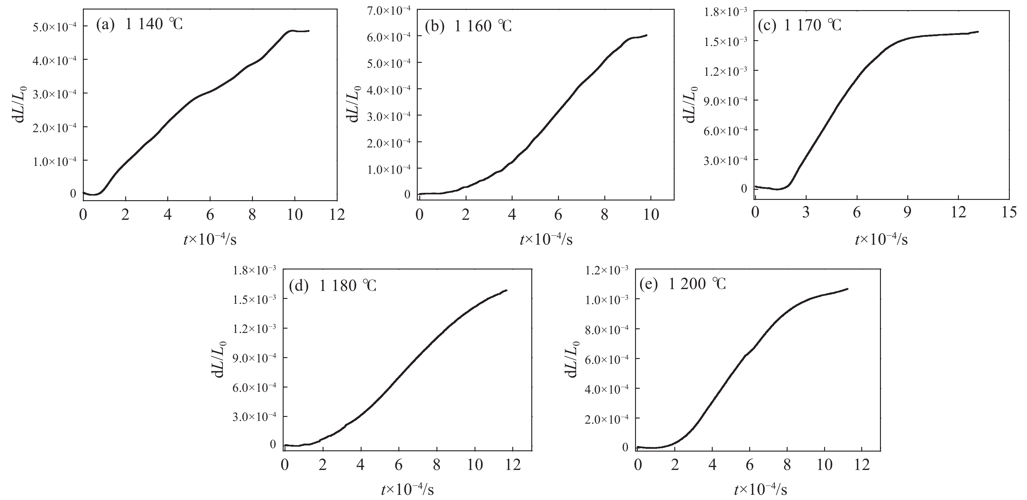
The isothermal phase transformation kinetics of α2→α at the temperature 1140−1200 ℃ in high Nb-TiAl alloy were systematically studied by in-situ thermal expansion method. The results show that during the α2→α isothermal phase transformation of high Nb-TiAl alloy, the “nose tip” temperature of α2→α phase transformation is 1170 ℃, and the formation of α phase presents an “S” curve. Based on the thermal expansion curve, the corresponding JMA isothermal phase transformation kinetics equation during the isothermal process was obtained. On the basis of the JMA equation, the Avrami exponent n and temperature constant K of isothermal phase transformation of high Nb-TiAl alloy were obtained by logarithmic fitting the fractional time curve of phase transformation. Based on the results of thermal expansion measurement, the time-temperature-transformation diagram (TTT diagram) was plotted for high Nb-TiAl alloy. The phase transformation kinetics mechanism of high Nb-TiAl alloy controlled by diffusion was revealed.
Recent progress on V2O5 nanowire nonwovens preparation and application in advanced electrochemical energy storage devices
Ni Wei, Qi Jianling, Fan Heyun
2022, 43(5): 65-74. doi: 10.7513/j.issn.1004-7638.2022.05.010
Abstract(729) HTML (271) PDF(40)
Abstract:
As an important V-based functional material, vanadium pentoxide (V2O5) nanofiber has a significant application in the field of electrochemical energy storage. We herein gave an overview of the one-dimensional (1D) V2O5-based materials for the application of advanced electrochemical energy storage and conversion, especially regarding the advantages and disadvantages of different synthetic methods of V2O5 nanowire nonwovens combined with recent research frontiers. It was considered that reducing the size and increasing the specific surface area will endow V2O5 with better performance in this field. Meanwhile, the development prospect of V2O5 nanofiber cloth in the field of advanced electrochemical energy storage in the future as well as the main development and research direction was provided.
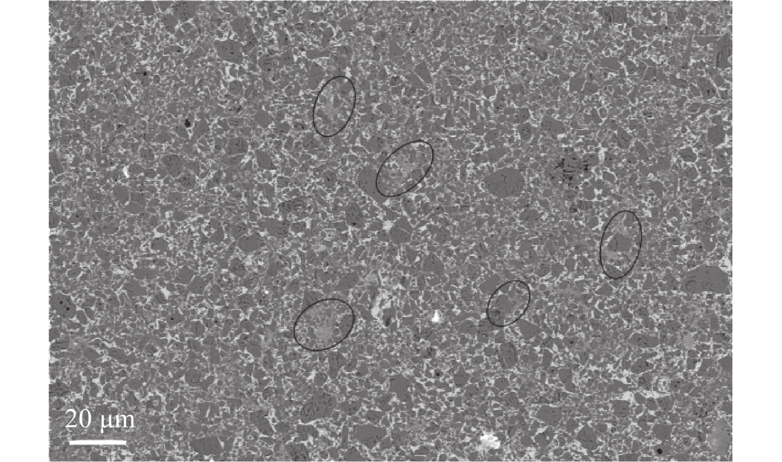
Study on microstructure and properties of TiC-based high manganese steel bonded cemented carbide prepared by spark plasma sintering
Zhang Huaiju, Wang Shuai, Zheng Kaihong, Luo Tiegang
2022, 43(5): 75-80. doi: 10.7513/j.issn.1004-7638.2022.05.011
Abstract(751) HTML (341) PDF(34)
Abstract:
Cemented carbides with different TiC mass fractions were prepared by spark plasma sintering (SPS) to reveal the influence mechanism of microstructure on hardness and wear behavior, and to explore the possibility of cemented carbides with high TiC mass fraction as wear-resistant materials. The results show that the sample with compact microstructure can be obtained by SPS sintering. The porosity of cemented carbide with 55% TiC mass fraction is 0.07%, and the porosity of cemented carbide increases with the increase of TiC mass fraction. In the sintering process, Mo participates in the formation of complex core-shell structure around TiC particles, and Ni distributes in the metal bonded phase. The large size TiC particles keeps their original morphology, while the small size TiC particles spheroidizes gradually and the particle enrichment area appears. The hardness of cemented carbide increases with the increase of TiC mass fraction. The microhardness (HV) of cemented carbide with 70% TiC mass fraction is 559 higher than that with 55% TiC mass fraction. The friction and wear tests show that the TiC particles are broken and spalling under stress, and the cemented carbide with 55% TiC mass fraction has the highest wear rate and the worst wear resistance. The cemented carbide with 70% TiC mass fraction has the lowest wear rate and the best wear resistance.
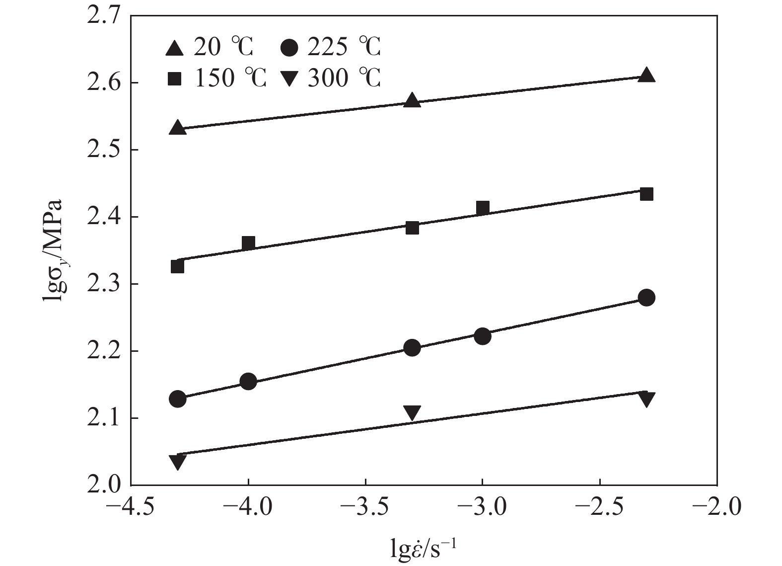
Tensile mechanical properties and constitutive model of commercial pure titanium TA2 welded joints at medium-low temperature
Zhao Qing, Chang Le, Zheng Yixiang, Song Gaofeng, Ye Youjun, Xie Yi, Tan Xuelong
2022, 43(5): 81-89. doi: 10.7513/j.issn.1004-7638.2022.05.012
Abstract(738) HTML (236) PDF(74)
Abstract:
In this paper, tensile tests of commercial pure titanium TA2 welded joints at different temperatures and strain rates were carried out to analyze the effects of temperature and strain rate on the flow stress and strength of the material. The yield strength of TA2 welded joints present a linear relationship with temperature and an exponential relationship with strain rate. The empirical formula between yield stress and temperature and strain rate was established. Based on the constitutive equations of Arrhenius, Johnson-Cook (JC) and Modified Zerili-Armstrong (MZA), the tensile flow stress of commercial pure titanium welded joints at medium-low temperature was predicted. The prediction accuracy of different constitutive models was quantitatively compared with experimental results. It was found that JC model has the lowest prediction accuracy and MZA model has the highest prediction accuracy. Current study provides data support for the application of titanium materials in pressure equipment, and it is useful for the design, manufacturing, fabrication and use of titanium pressure equipment.
Research progress on Ti/Al clads by rolling
Pang Lijuan, Li Huirong, Deng Gang, Zhang Xuefeng
2022, 43(5): 90-98. doi: 10.7513/j.issn.1004-7638.2022.05.013
Abstract(1292) HTML (452) PDF(123)
Abstract:
Ti/Al clad plates combine the advantages of titanium and aluminum and have been widely used in various industrial fields. Rolling technique has been well established for processing Ti/Al clad plate. The basic theory involved in rolling technique and the factors affecting the interface bonding strength of Ti/Al clad plates are briefly introduced in this paper. Then the test methods for bonding strength of Ti/Al clads are summarized. This paper intends to provide a theoretical basis for obtaining high-quality Ti/Al clad plates. Enabling Ti/Al clad plates excellent interface bonding performance, the applied reduction ratio shall excess a certain threshold depending on the rolling method. With the same rolling reduction ratio, the new rolling techniques such as corrugated rolling and accumulative rolling perform higher interface bonding strength than conventional rolling. Diffusion layers appear at the bonding zones subject to heat treatment after rolling, and the main metallic compound is TiAl3. And the thickness of diffusion layers must be controlled in reasonable limits. The wavy morphology of Ti/Al interface becomes obvious with the increased layers and this is beneficial to improve interface bonding strength.
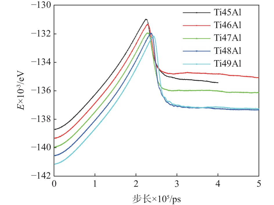
Effect of Al content on fracture behavior of γ-TiAl alloy
Liang Yuehui, Qi Wenjun
2022, 43(5): 99-105. doi: 10.7513/j.issn.1004-7638.2022.05.014
Abstract(552) HTML (298) PDF(34)
Abstract:
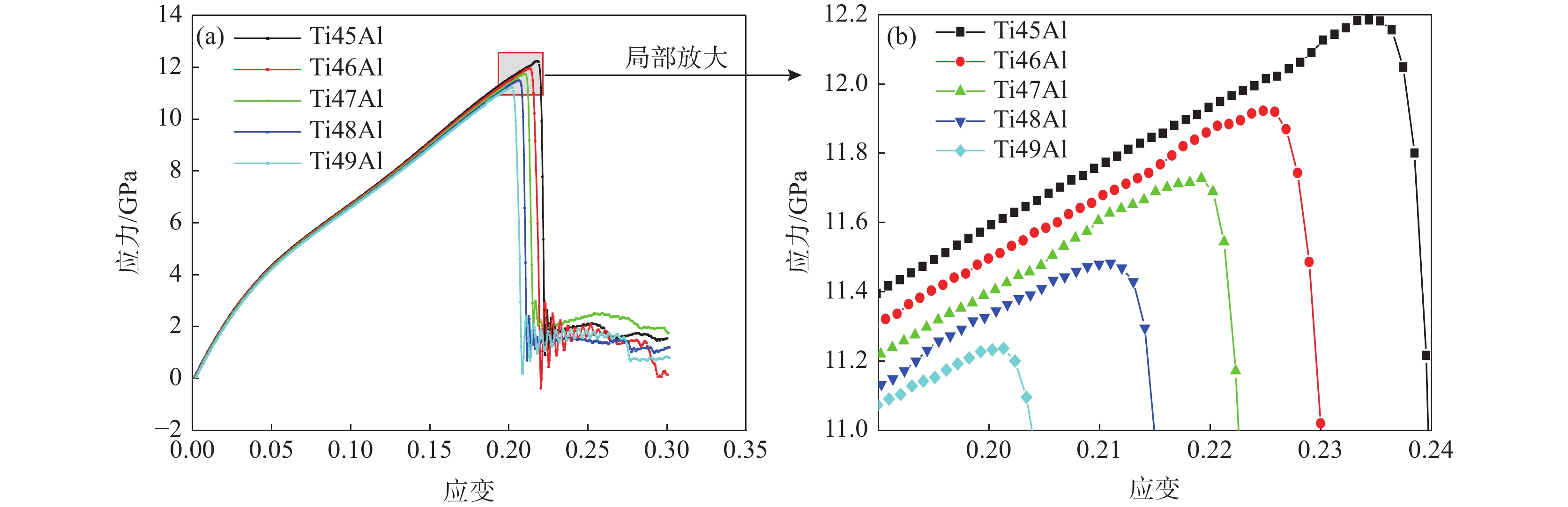
The crack growth mechanism and mechanical properties of single crystal γ-TiAl alloy with 45%~49% Al under uniaxial tension at 300 K had been investigated be means of molecular dynamics. The crack development of γ-TiAl alloy with 45% Al content during tensile process and the stress-strain curve and the total energy variation curve with time for γ-TiAl alloy with 45%~49% Al content were analyzed.The results show that Al content affects the properties of the γ-TiAl alloy, and the Lomer Cottrell dislocation produced during the tensile process of γ-TiAl alloy containing 45% Al content has a great influence on the mechanism of crack propagation. Stacking fault, dislocation and holegeneration,dislocation reaction and movement, and decreasing Al content can all contribute to the increasing yield strength of γ-TiAl alloy. The yield stress and elastic modulus of γ-TiAl alloy increase with the decrease of Al content in the range of 45%~49%.
Resources Environment and Energy Saving
Study on the transformation mechanism of chromium in chromium sludge under reducing atmosphere
Wan Xinyu, Gao Jianjun, Cao Zhicheng, Wu Peipei, Xu Haichuan
2022, 43(5): 106-110, 122. doi: 10.7513/j.issn.1004-7638.2022.05.015
Abstract(764) HTML (236) PDF(35)
Abstract:
In this paper, the transformation mechanism of chromium in chromium sludge was studied under reducing atmosphere, and the feasibility of rotary hearth furnace (RHF) for treating chromium sludge was discussed. The results show that chromium mainly exists in the form of chromium hydroxide, calcium chromate and sodium chromate in the sludge. Under the CO-CO2 atmosphere, the Cr(III) in the chromium sludge will not be oxidized to Cr(VI) and the original hexavalent chromium in the sludge will be reduced to trivalent chromium. Under the same CO concentration, the conversion rate of hexavalent chromium gradually decreases with the proportion of chromium mud increase. Under the CO-CO2-O2-N2 atmosphere, after adding 3% and 6% oxygen, the conversion rate of hexavalent chromium and the change rate of hexavalent chromium are both negative, and Cr(III) will still not be oxidized to Cr(VI). Therefore, it is feasible to carry out harmless disposal of chromium sludge in the rotary hearth furnace process.
Research on adsorption properties of vanadium in vanadium-containing waste liquid by diatomite
Sun Ning, Li Junhan
2022, 43(5): 111-116. doi: 10.7513/j.issn.1004-7638.2022.05.016
Abstract(551) HTML (174) PDF(30)
Abstract:
A large amount of vanadium containing wastewater is produced in the wet process of vanadium extraction, and its direct discharge causes serious environmental pollution and resource waste. Due to the advantages of large specific surface area, many pores, low density, strong adsorption performance and permeability of the diatomite, it has been widely used in environmental management fields. Using diatomite as an adsorbent, the effect of adsorption time, initial concentration of polluted liquid, pH value and diatomite dosage on the vanadium adsorption was conducted by static adsorption experiments. The adsorption thermodynamics fitting and kinetics fitting were researched according to the experimental data, and the adsorption mechanism and characteristics was analyzed. The results show that the main component of diatomite is SiO2, with a small amount of montmorillonite and chlorite. The shape of diatom shell is discoid, the surface of the shell has numerous microporous structures. In the thermodynamic fitting, the adsorption process of diatomite is more in line with the Freundlich model, and the R2 is 0.9010, which belongs to the multi-molecular layer adsorption and surface adsorption. In the kinetic fitting, the correlation coefficient of the quasi-second-order kinetic model is higher than that of the quasi-first-order kinetic model, the R2 is 0.9954, indicating that the adsorption process is dominated by chemisorption. When the adsorption time is 24 h, the initial concentration of contaminated vanadium solution is 1 mg/L, the amount of contaminated solution is 50 mL, the pH is 5, and the dosage of diatomite is 2 g, the removal rate of vanadium can reach 98.21%. Therefore, diatomite has a good adsorption effect on vanadium in vanadium-containing waste liquid, and can be used as an adsorbent to treat vanadium pollution.
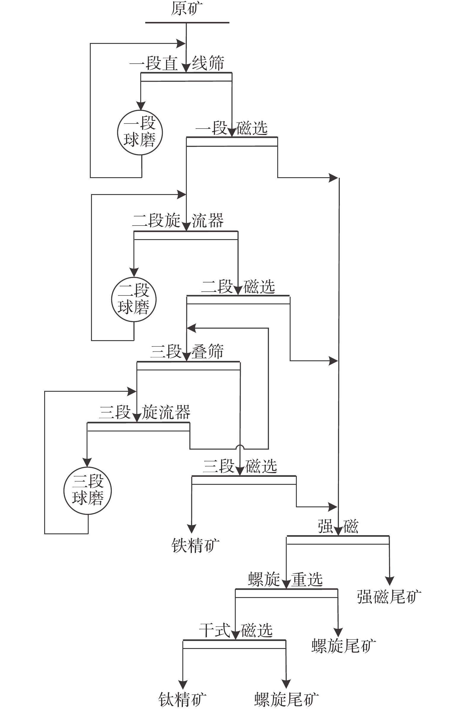
Research and practice on optimization of grinding and classification process of low-grade vanadium titanomagnetite
Wu Dengping, Wang Xiangbo, Zhao Liuyang
2022, 43(5): 117-122. doi: 10.7513/j.issn.1004-7638.2022.05.017
Abstract(607) HTML (218) PDF(43)
Abstract:
According to the production status of Panzhihua Fengyuan Mining Co., Ltd. using the low-grade vanadium titanomagnetite for beneficiation from Panzhihua mining area, this paper put forward an optimization scheme of grinding and classification process. Under the condition of improving the fineness of iron concentrate, the overgrinding of ilmenite was reduced, which was more suitable for the subsequent ilmenite gravity separation process, and the recovery rate of ilmenite was also improved. The production practice shows that by optimizing the grinding and classification process, "two-stage grinding" was changed to "three-stage grinding", the raw ore "grinding before classification" was changed to "classification before grinding" and the spiral classifier was eliminated. Finally, the fineness of iron concentrate (−0.074 mm) was increased by 12.34 percentage points, the grade of iron concentrate was increased by 1.57 percentage points, the yield of −0.0385 mm particle size in magnetic separation tailings was reduced by 20.31 percentage points, the separation particle size of ilmenite was greatly improved, and the recovery rate of ilmenite was increased by 6.85 percentage points.
Study on the effect of electric furnace steel slag-fly ash compound admixture on the properties of cement mortar
Wang Jie, Liang Yuehua
2022, 43(5): 123-128. doi: 10.7513/j.issn.1004-7638.2022.05.018
Abstract(578) HTML (234) PDF(24)
Abstract:
The electric furnace steel slag ball produced by Ruisteel Company of Panzhihua Steel City Group was used to grind into micropowder, and the composite fly ash was used to prepare the electric furnace steel slag–fly ash composite admixture. The fluidity, 7 d and 28 d bending, compressive strength and activity of cement mortar with different composite ratios were measured. Scanning electron microscopy (SEM), thermogravimetry (TG) and differential scanning calorimetry (DSC) tests were performed on 28 d cement mortar samples. The results show that the fluidity of the electric furnace steel slag–fly ash composite admixture decreases with the increase of the content of electric furnace steel slag. In order to ensure the fluidity, it is suggested that the content of electric furnace steel slag in the electric furnace steel slag–fly ash composite admixture is no more than 50%.The activity of electric furnace steel slag powder is better than that of fly ash. The strength and activity of electric furnace steel slag–fly ash composite admixture increase with the increase of the content of electric furnace steel slag.
Ferrous Metallurgy and Materials
Simulation study on the eccentric stirring of hot metal desulfurization
Yu Qingchun, Liu Zhiping, Yin Shubiao, Zhang Songlai
2022, 43(5): 129-135. doi: 10.7513/j.issn.1004-7638.2022.05.019
Abstract(586) HTML (212) PDF(45)
Abstract:
Based on the actual size of molten iron tank, a physical model was proportionally established to simulate the eccentric stirring desulfurization using KR method. Numerical simulation was made to simulate the desulfurization process of hot metal with eccentric stirring by VOF multiphase flow model, standard k-ɛ turbulence model and Multiple Reference Frame method (MRF) using CFD software. It is found that the vortex shape is irregular during the eccentric stirring process, and the maximum vortex depth is located in the center of the mixer. Fluid moves strongly near the agitator wall, and flows along the upper and lower directions. Fluid in the far side moves slowly, and the average fluid velocity in the end side of blade is about twice that in the far side. Eccentric stirring can change the motion state of fluid at the bottom of the mixer and reduce the "dead zone". When the stirring speed increases from 120 r/min to 200 r/min, the average fluid speed increases by about 68%, and the volume proportion of high-speed fluid decreases slightly, from 60.4% to 57.9%. Eccentric stirring is easy to be realized in industry, and the increase of speed is beneficial to the diffusion of desulfurizer, however, the economy and safety should be considered for optimum speed.
Bottom tuyere configuration optimization in 120 t combination blown converter
Zhang Ling, Yu Bo, Zhong Liangcai, Wang Lixin, He Longlong, Weng Li, Li Qiang
2022, 43(5): 136-144. doi: 10.7513/j.issn.1004-7638.2022.05.020
Abstract(595) HTML (264) PDF(29)
Abstract:
Physical experiment in a model with a geometric similarity ratio of 1:10 for a 120 t top-bottom combined blown converter based on the similarity theory was conducted in laboratory. The effect of bottom gas flowrate, number and arrangement of bottom tuyeres on the bath mixing was studied. A mathematical model of gas-liquid two-phase flow in the converter at single bottom blowing was established in the simulation. The effect of bottom tuyere configurations on velocity field in molten bath was studied. The results showed that the average mixing time with the optimized configurations of 4, 6 and 8 bottom tuyeres at bottom gas flow rate of 0.534 m3/h and 1.074 m3/h is 28.50, 28.25 s and 27.50 s in the case of single bottom blowing. In the case of combined blowing, the mixing time in the molten bath decreases with increase in bottom gas flow rates with the optimized configuration of 8 bottom tuyeres at top gas flow rate of 122 m3/h under different top lance heights. The velocity fields in the bath with the optimized configurations of 4, 6 and 8 bottom tuyeres were investigated in the mathematical simulation. It is found that less vortex centers of flow fields on horizontal sections and large asymmetry of vortex centers of flow fields on vertical sections can decrease “dead zone” volumes, which can improve the stirring ability of bottom gas and reduce mixing time in molten bath. The “dead zone” volumes in molten bath from the optimized configurations of 4, 6 and 8 bottom tuyeres studied here are 15.44%, 23.56% and 10.30%, respectively.
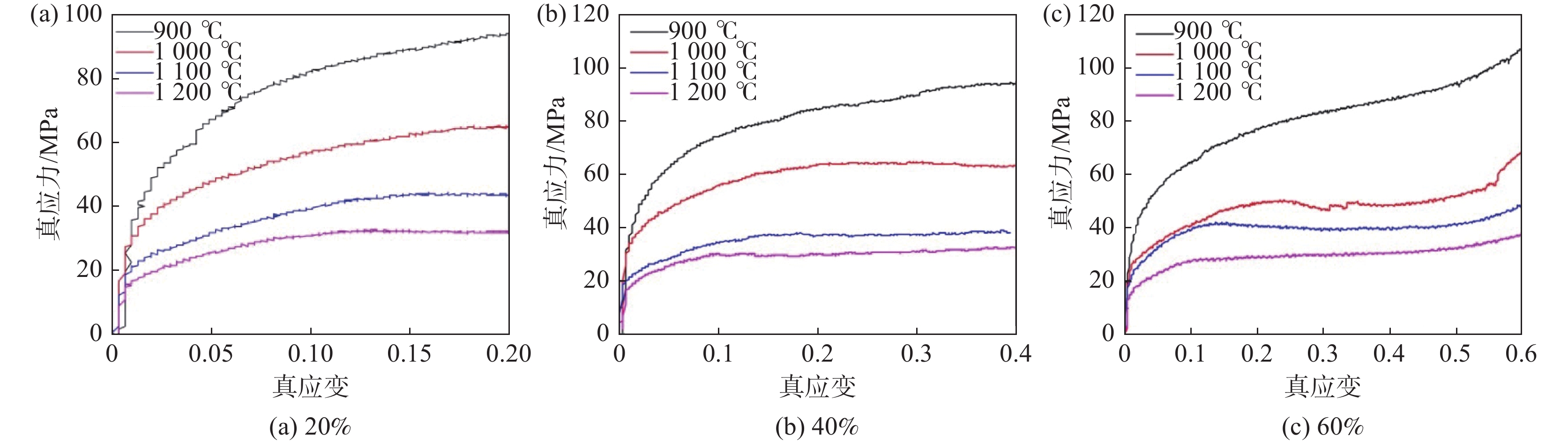
Study on the microstructure evolution during hot deformation of GH5188 superalloy
Guo Xulong, Jiang Shichuan
2022, 43(5): 145-152. doi: 10.7513/j.issn.1004-7638.2022.05.021
Abstract(788) HTML (310) PDF(40)
Abstract:
In this paper, the transformation law of microstructure evolution during multi-pass deformation and heat preservation was investigated by a Gleeble-3800 thermal simulation testing machine. A hot working diagram was established at deformation rate 0.01−10 s−1, deformation amount 50%, and deformation temperature 980−1230 ℃. The effects of holding time after single-pass deformation on the microstructure of double-pass deformation, holding time after double-pass deformation and holding temperature on the microstructure evolution, and deformation and holding time after double-pass cooling on the microstructure were discussed. The results show that the boundary conditions of the high power dissipation zone in the hot working diagram are 1050−1175 ℃, 0.01−0.1 s−1, and 1200−1225 ℃, 0.01−1 s−1, respectively. The boundary conditions of the low power dissipation zone are 975−1150 ℃, 0.01−10 s−1, and 1150−1225 ℃, 0.1−10 s−1, respectively. Too long holding time after the first deformation is not conducive to the second dynamic recrystallization. The recrystallization phenomenon occurred after the double-pass deformation, and the grain size did not grow obviously with the increasing holding time. In addition, with the second deformation temperature decrease, the proportion of recrystallization in the specimen decreases, and the lower the holding temperature, the less likely static recrystallization occurs.
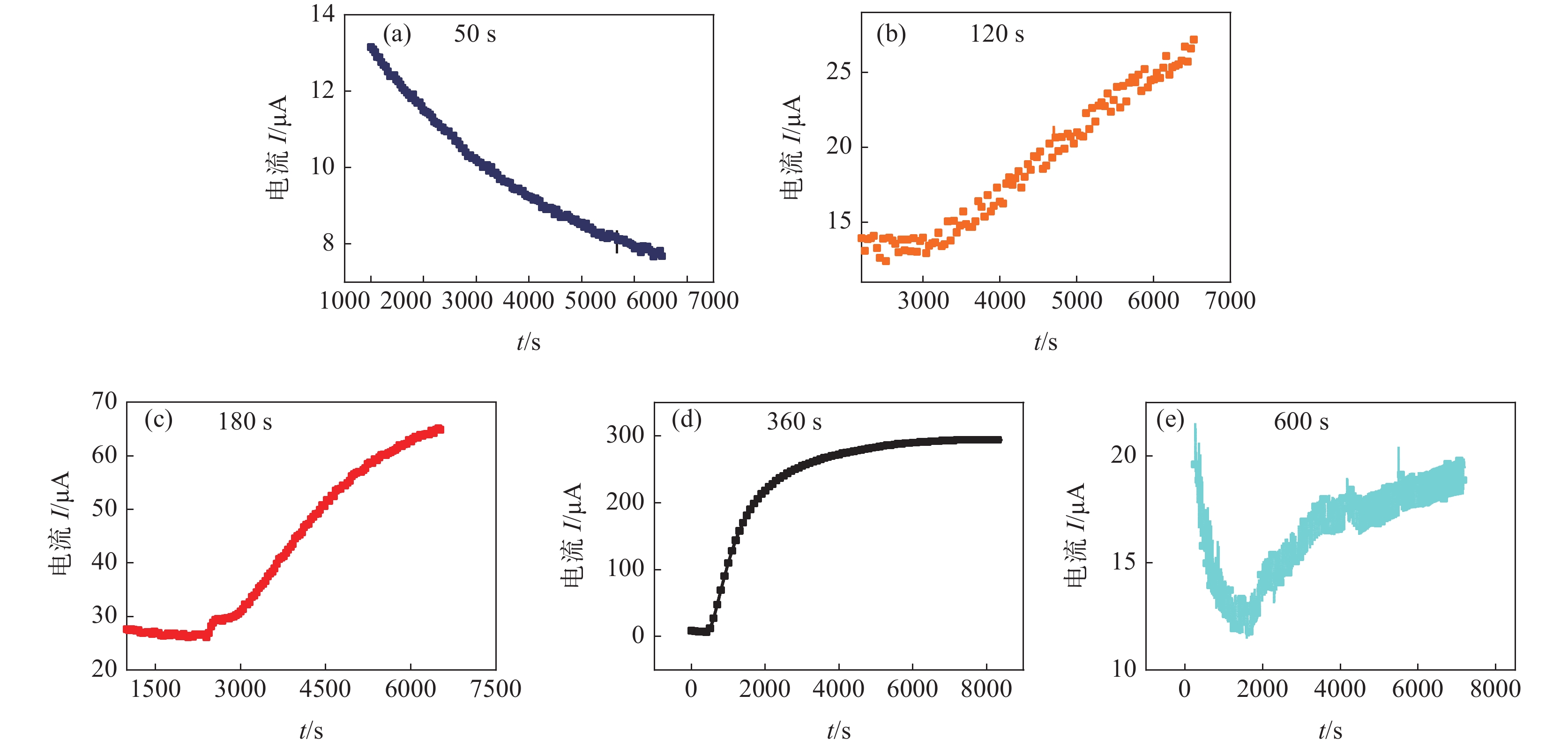
Effect of electroplating time and temperature on hydrogen diffusion coefficient of U78CrV steel
Feng Kai, Li Ying, Zou Ming, Yuan Jun, Ding Yushi
2022, 43(5): 153-157. doi: 10.7513/j.issn.1004-7638.2022.05.022
Abstract(611) HTML (294) PDF(33)
Abstract:
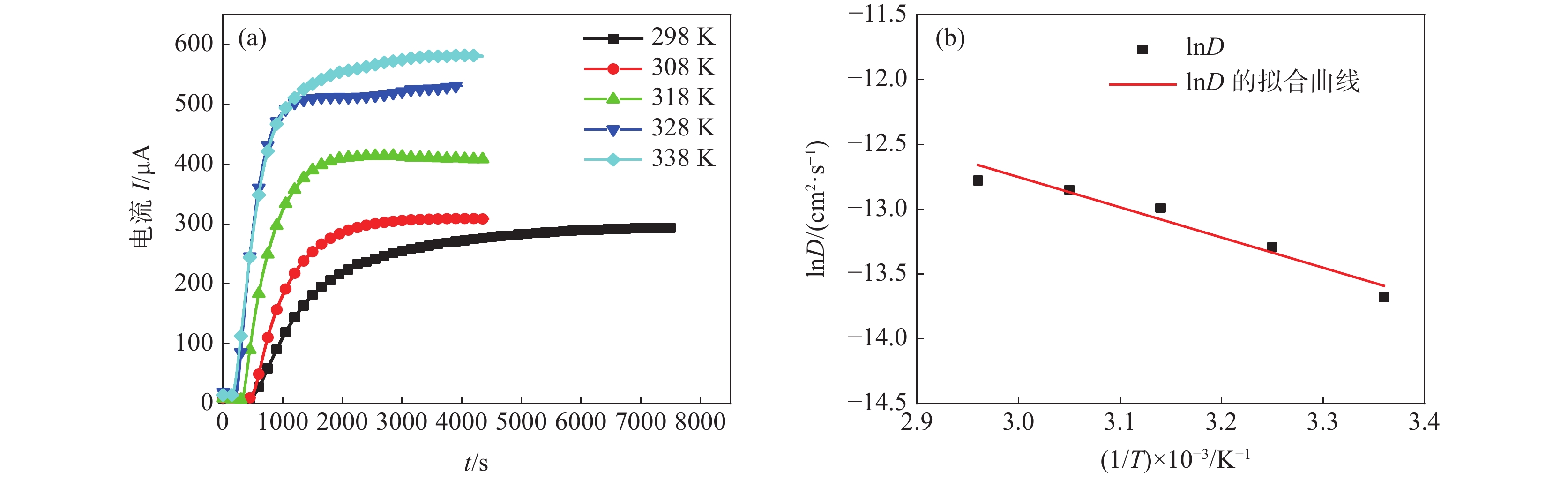
Hydrogen can cause hydrogen embrittlement of steel, resulting in a decrease in the material's mechanical properties. The harmful effect of hydrogen atoms on steel is caused by diffusion. Therefore, understanding the diffusion behavior of hydrogen atoms in steel is significant in preventing hydrogen bubbling and embrittlement. In this paper, electrochemical hydrogen permeation technology is used, a constant cathode current is applied, and the hydrogen permeation parameters of U78CrV steel are studied by changing the sample plating time and test temperature, respectively. The influence of different plating times and test temperatures on the hydrogen diffusion coefficient of U78CrV steel is analyzed. The research results show that too short and too long electroplating time will reduce the anodic polarization current and affect the ionization of hydrogen atoms to form hydrogen ions. When the electroplating time is 360 seconds, the nickel layer formed has the best effect. The increase in the test temperature will increase the hydrogen permeability and diffusion coefficient. The activation energy of hydrogen diffusion in U78CrV steel is 19371 J/mol.
Effect of heat treatment on mechanical and corrosion resistance properties of Fe-25Mn-18Cr-3.5Ni-2Al stainless steel
Zeng Zeyao
2022, 43(5): 158-165. doi: 10.7513/j.issn.1004-7638.2022.05.023
Abstract(626) HTML (271) PDF(25)
Abstract:
The properties of Fe-25Mn-18Cr-3.5Ni-2Al test steel under different heat treatment processes were tested by tensile, impact, and electrochemical methods. The SEM, EBSD, and XRD analysis showed that the volume fraction of the austenite phase decreased gradually with the increase of solid solution temperature. After solid solution at 900, 950 ℃, and 1000 ℃, the volume fraction of the austenite phase separated by EBSD decreased to 60.2%, 48.7%, and 20.0%, respectively. Austenite changes from a sharp fishbone shape to an isolated long needle shape distributed on the ferrite grain boundary. With the increase of ferrite phase content, the strength and hardness of the test steel increase, and the impact toughness decreases. After solution treatment at 900−1000 ℃, the ferrite phase content increases, and the orientation of (001)bcc decreases gradually. After tempering at 700 ℃, only α NiAl nanoparticles with dispersed distribution appear in the phase and show a brittle fracture. The polarization test shows that the pitting potential gradually moves forward with the increase of solution temperature. The sample treated at 1000 ℃ has a long passivation zone and secondary passivation in the 3.5% NaCl polarization test. Ecorr=−257 mV, Eb=−46.5 mV, has good corrosion resistance and mechanical properties and is recommended as the actual production heat treatment temperature.
Ferrite grain size control of dual phase steel and its effect on mechanical properties and hydrogen diffusion properties
Ye Qing
2022, 43(5): 166-170. doi: 10.7513/j.issn.1004-7638.2022.05.024
Abstract(838) HTML (297) PDF(35)
Abstract:
Three different ferrite grain-sized ferrite-martensite dual-phase steels were prepared by large-strain warm deformation at different deformation temperatures in a thermal simulation process, followed by intercritical annealing at 920 ℃ for 3 min in this study. The dimensions were 11.6, 2.3 μm, and 1.1 μm, respectively, with the same content of martensite (about 30%.). The microstructure and mechanical properties of three ferrite-martensite dual-phase steels with different ferrite grain sizes were characterized by SEM, TEM and tensile test. The results show that the yield strength and tensile strength of ferrite-martensite materials increase significantly with the decrease of ferrite grain size from 11.6 to 2.3 and 1.1 μm at the same martensite content level (about 30%), the tensile strength increases from 865 MPa to 965 MPa and 1030 MPa, but the yield strength ratio and elongation of the three materials change little. With the refinement of ferrite grains, martensite bands are segregated by ferrite, which effectively enhances the plasticity of martensite and slows down the diffusion of hydrogen in test steel, The hydrogen diffusion coefficient decreased from 3.91×10−12 m2/s to 2.71×10−12 m2/s and 9.80×10−13 m2/s.
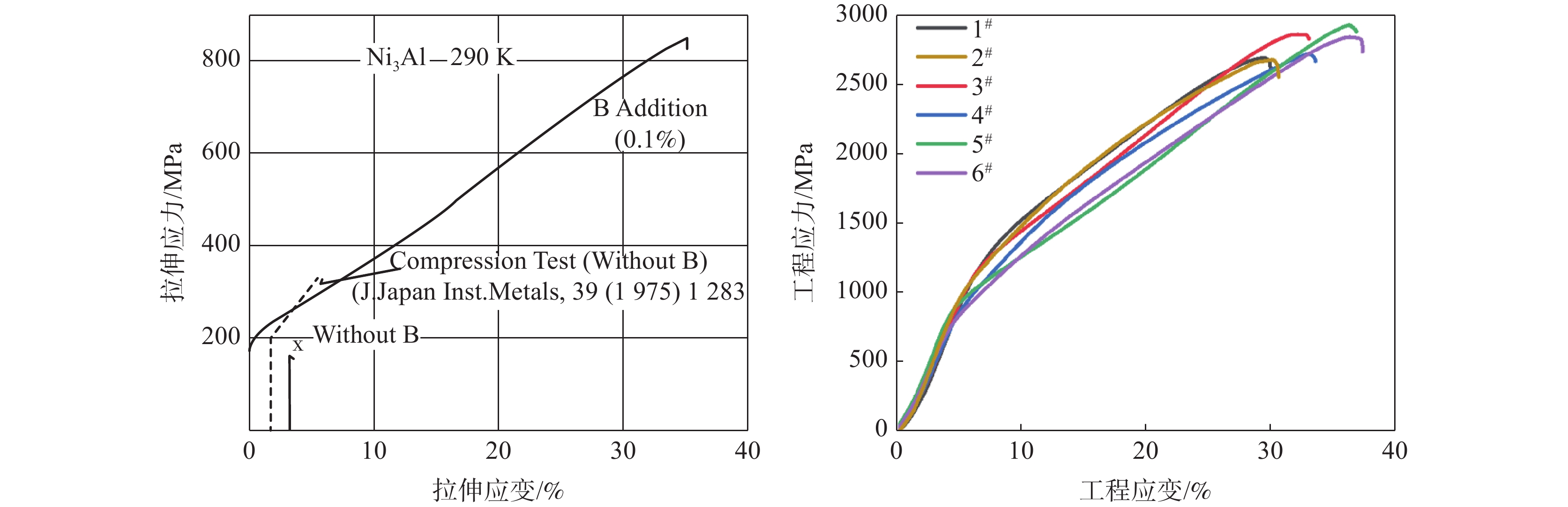
Microstructure and mechanical properties of Ni3Al based intermetallic designed based on 'cluster plus connected atom' model
Liu Lin, Xu Yanan, Tian Quanwei, Teng Zongyan, Xu Zhaohui, Wang Yinong
2022, 43(5): 171-177. doi: 10.7513/j.issn.1004-7638.2022.05.025
Abstract(546) HTML (244) PDF(23)
Abstract:
The room temperature brittleness of Ni3Al intermetallic compounds significantly limits its application. Accordingly, in this paper, the composition and structure of Ni3Al intermetallic compounds are analyzed, and the composition is designed by the 'cluster plus connected atom' model. Six alloys were designed by replacing some Ni on the cluster shell with Co and Fe and replacing some connecting atom Al with Ti. Simultaneously the microstructure and mechanical properties of these alloys were characterized. The results show that the microstructures of all six alloys are composed of the Ni3Al phase (γ′ phase), NiAl phase (BCC), and a small amount of eutectic precipitated third phase, and the formation of the Ni3Al phase is confirmed by TEM analysis. The alloy designed in this paper has improved room temperature strength, hardness, and plasticity compared to the Ni3Al intermetallic compound. The reason is that the formation of the Ni3Al phase as the matrix improves the strength and hardness. When a small amount of BCC phase precipitates in the Ni3Al matrix, it helps further to improve the strength and hardness of the alloy. In comparison, the high concentration of BCC decreased the strength and hardness and increased the plasticity.
Effects of strain aging on the microstructure and properties of X90 high-strength pipeline steel
Yang Jun, Bi Zongyue, Wang Xueyi, Niu Hui
2022, 43(5): 178-185. doi: 10.7513/j.issn.1004-7638.2022.05.026
Abstract(542) HTML (283) PDF(11)
Abstract:
X90 pipeline steel pipe is a new type of high-strength and high-toughness pipe. With the increase in strength, the revealing and controlling of strain aging behavior of X90 pipeline steel has become the focus of research. The microstructure characteristics, fracture morphology, strain-aging sensitivity, tensile properties, impact toughness in low temperature, and strain aging sensitivity of X90 high-strength pipeline steel before and after strain aging treatment were investigated by OM, SEM, TEM, strain-aging sensitivity test, tensile test and Charpy impact experiments. The results indicate that the strain aging has no significant effect on the microstructure of X90 high-strength pipeline steel. The microstructure of X90 high-strength pipeline steel before and after aging is a complex structure of acicular/bulk ferrite, lath/granular bainite and M/A component. However, strain aging has a significant effect on the tensile properties, tensile curve morphology and low temperature impact toughness of X90 high-strength pipeline steel. When the aging temperature is 230 ℃ (the fusion temperature of polyethylene layer), the yield strength, tensile strength, yield ratio and strain-aging sensitivity coefficient of X90 steel gradually increase with the prolongation of aging time. At the same time, the uniform elongation and low temperature impact absorption energy of X90 steel gradually decrease with the prolongation of aging time. In addition, the X90 pipeline steel gradually loses continuous yielding and strengthening characteristics, and the tensile curve changes from the round-house-type before aging to the Lüders-type yield curve after aging with obvious peaks and yield platform. 15min is the inflection point of aging time for the transformation of the stress-strain curve of X90 steel. In order to reduce the adverse effect of strain aging on X90 high-strength pipeline steel, comprehensive regulation should be carried out from three aspects: reducing strain, reducing anti-corrosion preheating temperature and shortening high temperature residence time of anti-corrosion preheating. It is recommended to innovate and revise the pipe production and preparation process, such as shortening the high temperature preheating residence time or reducing the preheating temperature, and adopting the flexible leveling method to replace the rigid roll leveling method, and the multi-step incremental forming to replace the one-step spiral forming method. It is recommended to innovate the production and preparation process of pipes. For example, in the pipe forming process, the flexible leveling method could be used to replace the rigid roll leveling method, and the multi-step progressive molding method could be used to replace the one-step spiral molding method to effectively control the prestrain. Another example, in the pipe anticorrosion process, the residence time of high temperature preheating should be shortened or the preheating temperature should be reduced (when the preheating temperature ≥ 230 ℃, the high temperature residence time should be ≤ 5 min; if the preheating temperature < 230 ℃, the high temperature residence time should be < 15 min).
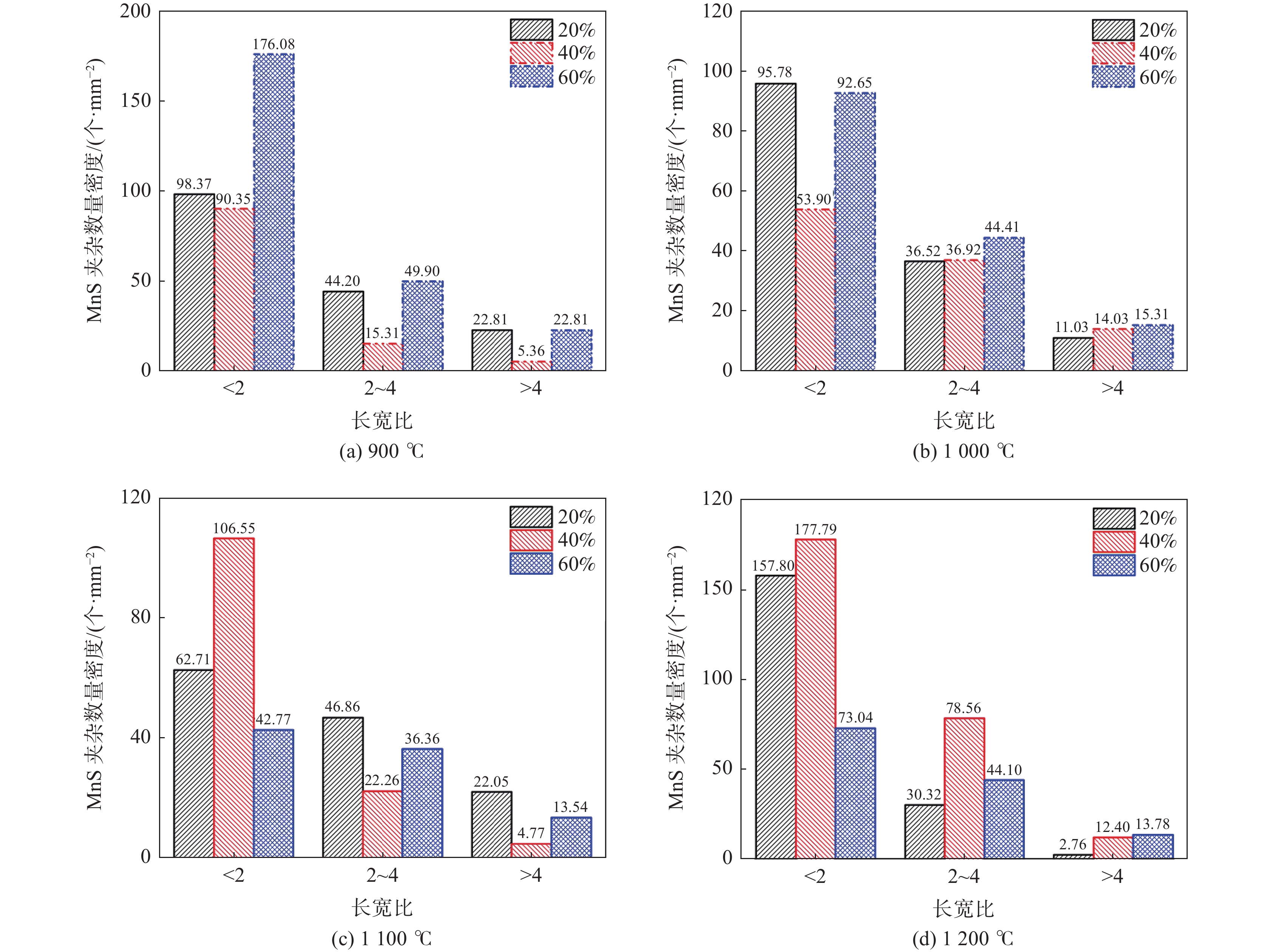
Research on hot deformation behavior of MnS inclusions in gear steel
Sun Yaping, Yang Li, Li Yongliang, Yang Yuhou
2022, 43(5): 186-190. doi: 10.7513/j.issn.1004-7638.2022.05.027
Abstract(636) HTML (236) PDF(23)
Abstract:
A compression test was conducted via a Gleeble-1500 thermo-mechanical simulator. The effects of different deformation temperatures and deformation on the size and relative plasticity of MnS inclusions in steel were studied. It is found that fragmentation and growth of MnS occurred alternately during the deformation process, and the temperature and the deformation greatly influence the size of MnS. With the increase of deformation, the quantity of MnS with an aspect ratio of less than two decreases first and then increases. The relative plasticity shows a trend to decrease at low temperatures. Nevertheless, the quantity and relative plasticity of MnS changed oppositely when gear steel was deformed at high temperatures. Choosing large deformation at low temperature or small deformation at the high-temperature rolling system in actual production can obtain many MnS inclusions with a small aspect ratio.
The study of the role of Mg content in microstructure of Zn-1.6Al-xMg alloy coatings
Jin Yongqing, Guo Taixiong, Dong Xueqiang, Deng Han
2022, 43(5): 191-196. doi: 10.7513/j.issn.1004-7638.2022.05.028
Abstract(581) HTML (378) PDF(46)
Abstract:
The Zn-1.6Al-xMg alloy coating steel sheets with different Mg content were prepared by hot dip galvanizing simulator, and the microstructure of coatings was analyzed using XRD, SEM and EDS. The results indicate that all the microstructures of Zn-1.6Al-xMg coatings are composed of massive Zn-rich phases, Zn/MgZn2 binary eutectic structures, fine Zn/Al/MgZn2 ternary eutectic structures, and a few dotted Al-rich phases. However, the volume fraction of Zn-rich phases and ternary eutectic structures decreases with the increase in Mg content of coatings, while the volume fraction of binary eutectic structures increases. Furthermore, the dotted Al-rich phases gradually transform to banded structure. As for the cross section, the microstructure of coatings shows that the ternary eutectic structure decreases, while the binary eutectic structure increases with the increasing Mg content.
Industrial study on modification of sulfide in Y1Cr13free-cutting stainless steel by tellurium
Wu Liangping, Fu Zhenggang, Zhou Maohua, Wang Jianqiang, Xie Jianbo, Fu Jianxun
2022, 43(5): 197-204. doi: 10.7513/j.issn.1004-7638.2022.05.029
Abstract(652) HTML (187) PDF(160)
Abstract:
The effect of sulfide modification by Te was analyzed and compared by means of metallographic microscopy, scanning electron microscope and Image-Pro Plus image analysis software. The results show that MnTe inclusions precipitated around the MnS inclusions when 0.011% Te added to the steel, resulting in the coarsening of sulfide inclusions. The morphology of most sulfides is ellipsoidal and spindle with dispersive distribution. Te enhanced the deformation resistance ability of sulfide inclusions. After adding Te to steel, the spindle percentage of sulfide inclusions increased from 55.4% to 86.5% compared to non-addition of Te. The sulfide rating decreased from 3-1 to 2-2. Thus, the sulfide morphology and rating are significantly improved. The machining test shows that when the cutting speed was 180 , 360 and 560 r/min, the percentage of C-chip obtained after cutting was 53%, 59% and 64%, respectively, and the surface roughness (Ra) value of workpiece was 3.407, 2.112 and 4.186 μm, respectively. However, when the Te powder was added to the steel, the percentage of C-chip obtained after cutting was 86%, 90% and 93%, and the surface roughness (Ra) of workpiece after cutting was 2.302, 1.978 and 3.220 μm, respectively. Therefore, the cutting property of steel was improved with Te addition.