Volume 43 Issue 2
May  2022
Turn off MathJax
Article Contents
Tan Shiguo, Fan Xuesai, Jiang Rendong, Luo Rongfei. Titanium flotation dynamics study for a beneficiation plant in Panxi[J]. IRON STEEL VANADIUM TITANIUM, 2022, 43(2): 21-24. doi: 10.7513/j.issn.1004-7638.2022.02.004
Citation: Tan Shiguo, Fan Xuesai, Jiang Rendong, Luo Rongfei. Titanium flotation dynamics study for a beneficiation plant in Panxi[J]. IRON STEEL VANADIUM TITANIUM, 2022, 43(2): 21-24. doi: 10.7513/j.issn.1004-7638.2022.02.004

Titanium flotation dynamics study for a beneficiation plant in Panxi

doi: 10.7513/j.issn.1004-7638.2022.02.004
More Information
  • Received Date: 2021-06-30
    Available Online: 2022-04-28
  • Publish Date: 2022-04-28
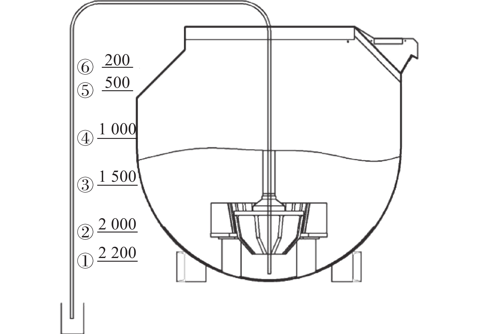
  • The paper studies the dynamics characteristics of flotation cells for a beneficiation plant in Panxi. Based on the method of collecting air via draining water, the air flowrate is 0.16~0.51 m3/(m2·min) for rougher and scavenger. The air dispersion of direct flow cell is better than that of the pumping cell. During mineralized bubbles transporting from 1 000 mm towards 200 mm distance from the lip, the grade of mineral and bubble loading is almost same. It demonstrates that mineralized bubbles are stable after the mineralized bubbles transporting to 1 000 mm and minerals are difficult to detach from the bubbles. The solid concentration exists layering in flotation cell. Deeper than 1 500 mm from the lip, the solid concentration remains similar. With the distance decreasing, the solid concentration decreases sharply.
  • loading
  • [1]
    Tan Qiyou, Chen Bo, Zhang Yushu, et al. Characteristics and current situation of comprehensive utilization of vanadium titano-magnetite resources in Panxi region[J]. Multipurpose Utilization of Mineral Resources, 2011,(6):6−10. (谭其尤, 陈波, 张裕书, 等. 攀西地区钒钛磁铁矿资源特点与综合回收利用现状[J]. 矿产综合利用, 2011,(6):6−10. doi: 10.3969/j.issn.1000-6532.2011.06.002
    [2]
    Xiao Liangchu. Improvement research on titanium concentration technology for Panxi vanadium-titanium magnetite[J]. Multipurpose Utilization of Mineral Resources, 2012,(2):57−60. (肖良初. 攀西钒钛磁铁矿选钛工艺改进研究[J]. 矿产综合利用, 2012,(2):57−60. doi: 10.3969/j.issn.1000-6532.2012.02.016
    [3]
    Yang Renxin. Investigation on beneficiation process of Hongge vanadium and titanium magnetite with application of high pressure roller mill[J]. Metal Mine, 2011,416(2):47−50. (杨任新. 应用高压辊磨机的红格钒钛磁铁矿选矿工艺研究[J]. 金属矿山, 2011,416(2):47−50.
    [4]
    Xiao Liujun. Characteristics of Panzhihua vanadium titanium magnetite ore resource and its mineral magnetism[J]. Metal Mine, 2001,295(1):28−30. (肖六均. 攀枝花钒钛磁铁矿资源及矿物磁性特征[J]. 金属矿山, 2001,295(1):28−30. doi: 10.3321/j.issn:1001-1250.2001.01.011
    [5]
    Shen Zhengchang, Lu Shijie. Industrial trial research of large-scale flotation machine KYF-160[J]. Nonferrous Metals(Mineral Processing Section), 2006,(3):37−41. (沈政昌, 卢世杰. KYF-160型浮选机工业试验研究[J]. 有色金属(选矿部分), 2006,(3):37−41.
    [6]
    Han Dengfeng, Shi Shuaixing, Wu Feng, et al. Comparison and analysis of bubble load characteristics in the process of flotation[J]. Nonferrous Metals(Mineral Processing Section), 2017,(B11):114−117. (韩登峰, 史帅星, 吴峰, 等. 浮选过程差异性的气泡负载特性对比分析[J]. 有色金属(选矿部分), 2017,(B11):114−117.
    [7]
    Shen Zhengchang. Research and design of 200 m3 air forced flotation machine[J]. Nonferrous Metals Engineering, 2009,61(2):100−103. (沈政昌. 200 m3超大型充气机械搅拌式浮选机设计与研究[J]. 有色金属工程, 2009,61(2):100−103. doi: 10.3969/j.issn.2095-1744.2009.02.025
  • 加载中

Catalog

    通讯作者: 陈斌, bchen63@163.com
    • 1. 

      沈阳化工大学材料科学与工程学院 沈阳 110142

    1. 本站搜索
    2. 百度学术搜索
    3. 万方数据库搜索
    4. CNKI搜索

    Figures(4)  / Tables(3)

    Article Metrics

    Article views (458) PDF downloads(39) Cited by()
    Proportional views
    Related

    /

    DownLoad:  Full-Size Img  PowerPoint
    Return
    Return