2021 Vol. 42, No. 3

Technical Review
Report on China titanium industry in 2020
Jia Hong, Lu Fusheng, Hao Bin
2021, 42(3): 1-9. doi: 10.7513/j.issn.1004-7638.2021.03.001
Abstract(3386) HTML (2233) PDF(766)
Abstract:
The overall situation of China titanium industry was analyzed in basis of the production capacity, application and import & export amount of titanium concentrate, titanium sponge, titanium ingot and titanium materials in 2020. The existed problems and the corresponding suggestions were also proposed.
Production cost of current titanium metallurgical process and possibility of new alternative process
Zhu Hongmin, Xiao Jiusan, Jiao Shuqiang, Lu Xin
2021, 42(3): 10-16, 36. doi: 10.7513/j.issn.1004-7638.2021.03.002
Abstract(1837) HTML (356) PDF(167)
Abstract:
Titanium is currently used as an advanced structural material for its high strength, low density, and excellent corrosion resistance. However, in our daily lives, people are not familiar with titanium metal because we rarely use it. The worldwide annual production of titanium metal is less than 1/30 of that of titanium oxide (TiO2). This is very unnatural considering the excellent properties and abundant reserves of titanium. The limitation of titanium application derives from its high cost. In this paper, the metallurgical process of titanium was analyzed, and compared with the processes of iron and aluminum. The details of the production cost of the current metallurgical process were analyzed. New titanium metallurgical processes were reviewed, and the possibility of reducing the production cost was discussed. The energy consumption and operation cost of titanium metallurgical process will be remarkably reduced through the combination of the carbon thermoreduction and molten salt electrolysis, using ilmenite (FeTiO3) as the raw material. The main challenges for scaling up of the USTB process are preparation of large size anode TiCxO1−x and continuous operation of large size electrolysis cell.
Separating and Extracting of Vanadium and Titanium
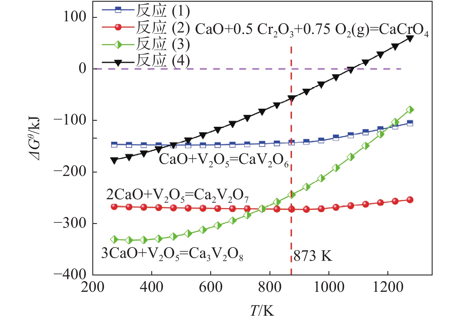
Solid phase reaction and diffusion behavior of V2O5/Cr2O3-CaO system based on calcification roasting of chromium–containing vanadium slag
Sun Hongyan, Wen Jing, Chen Bojian, Yu Tangxia, Jiang Tao
2021, 42(3): 17-24. doi: 10.7513/j.issn.1004-7638.2021.03.003
Abstract(635) HTML (222) PDF(42)
Abstract:
The difference in combining ability with calcium between vanadium and chromium in the calcification roasting process of chromium-containing vanadium slag was investigated by V2O5-CaO and Cr2O3-CaO diffusion couples which were prepared by roasting at constant temperature with V2O5, Cr2O3 and CaO as raw materials. The microstructure of the diffusion interface and the element distribution of the product layer were observed and detected by SEM-EDS. The effect of roasting time on solid phase interface reaction were analyzed, and the diffusion coefficient was calculated by Wagner equation. The results show that a recognizable product layer at the interface of the V2O5-CaO diffusion couple can be found by roasting at 873 K for 9 h in air atmosphere. The thickness of the product layer is linearly related to the square root of roasting time, indicating a diffusion-controlled process for the solid phase reaction, with the product layer mainly composed of CaV2O6. Under the same roasting condition, no obvious product layer is formed in Cr2O3-CaO diffusion couple. It suggests that the solid-solid interface reaction ability between vanadium and calcium is stronger than that of chromium and calcium. The order of magnitude of diffusion coefficient of V2O5-CaO diffusion couple is 10−10 cm2·s−1.
Hydrothermal synthesis of high purity TiO2 from metatitanic acid via short sulfate process
Tian Congxue
2021, 42(3): 25-30. doi: 10.7513/j.issn.1004-7638.2021.03.004
Abstract(638) HTML (409) PDF(51)
Abstract:
High purity titanium dioxide was prepared through the hydrothermal synthesis route, using metatitanic acid as precursor which was hydrolyzed from low concentration industrial titanyl sulfate solution via short sulfate process. The effects of slurry mass concentration, hydrothermal temperature and hydrothermal time on the structure and purity of the products were investigated. The samples were characterized by XRD, particle size distribution, BET analysis, SEM and TiO2 content determination. The hydrothermal conditions, e.g. slurry mass concentration, hydrothermal temperature and hydrothermal time influence the dissolution, nucleation, crystal growth, polymerization and agglomeration of the precipitates, and the structure, particle size distribution and specific surface area of the hydrothermal metatitanic acid are also affected, which leads to the content variation of the adsorbed impurities and ultimately influences the structure and purity of TiO2. The optimized hydrothermal conditions are the slurry concentration of 160 g/L, hydrothermal temperature of 140 ℃ for 36 h, with the high purity TiO2 (99.99%) obtained.
Synthesis of anatase TiO2 nanorods with special exposed surface in a novel solvothermal system
Liu Jin
2021, 42(3): 31-36. doi: 10.7513/j.issn.1004-7638.2021.03.005
Abstract(623) HTML (143) PDF(32)
Abstract:
Through a novel solvothermal method, single-crystalline anatase TiO2 nanorods were prepared using tetrabutylammonium hydroxide (TBAH) as the morphology controlling agent. The obtained TiO2 nanorods are dominated by a large percentage of {010} facets on the surface. The short-circuit current density Jsc of the dye-sensitized solar cells (DSSCs) made of the TiO2 nanorods is about 10.9 mA/cm2, with the open circuit voltage Voc and photoelectric conversion efficiency at 0.74 V and 5.75%, respectively. Compared with DSSCs made of commercial P25 TiO2, the short-circuit current density, fill factor, and photoelectric conversion efficiency of the cell made of the TiO2 nanorods are increased by 2.83%, 10.94% and 10.58%, respectively. On basis of the material characterizations, the formation mechanisms were discussed preliminarily.
Study on the acidolysis properties of titanium ore recovered from acidolysis residue
Wu Jianchun, Lu Ruifang, Shi Ruicheng
2021, 42(3): 37-43. doi: 10.7513/j.issn.1004-7638.2021.03.006
Abstract(687) HTML (232) PDF(47)
Abstract:
Using the titanium ore recovered from the acidolysis residue and the conventional titanium concentrate as raw materials, the differences in chemical compositions, phase structures and occurrence states of titanium between the materials were analyzed and compared by chemical analysis, XRD, SEM and lithofacies analyses. Based on the analyses, the acidolysis experiments were carried out. The results show that the grade of TiO2 in the recovered ore is about 38%, 10% lower than that in the conventional titanium concentrate. The main phase is ilmenite accounting for about 65%, followed by quartz and silicate phases. Titanium mainly occurs in ilmenite, accounting for about 87%. The recovered ore has better acidolysis performance because of its smaller particle size and more cracks on the surface. However, the titanium concentration of acidolysis solution is lower due to the lower grade of the recovered ore, which is not conducive to the latter concentration. The recovered ore can be mixed with Panzhihua PT20 ore for acidolysis, which has no adverse effect on the acidolysis rate. At the addition ratio of 10%~15%, the comprehensive effects of acidolysis rate and filtration speed are the best. However, when the recovered ore is mixed with Baima 20 ore for acidolysis, the higher magnesium content in Baima 20 ore leads to the increase of titanium liquid density, and the silica-containing flocs are not easy to settle and the filtration speed is slow.
Preparation of titanium dioxide from acid leaching solution of high titanium blast furnace slag by boiling hydrolysis
Huang Chen, He Siqi, Tang Yumei, Wang Yan, Sun Hongjuan
2021, 42(3): 44-52, 93. doi: 10.7513/j.issn.1004-7638.2021.03.007
Abstract(700) HTML (305) PDF(44)
Abstract:
In order to solve the problem of incomplete treatment of high titanium blast furnace slag in Panxi area, the titanium component was extracted by sulfuric acid, and the effects of pH value of base liquid, hydrolysis temperature, feeding rate, aging time and second-boiling time on the hydrolysis rate of Ti4+ and the structure of hydrolysate were investigated. The results show that the pH value of base liquid, the hydrolysis temperature and the aging time have significant effects on the hydrolysis rate and the hydrolysate structure. pH value of base liquid, feeding rate and aging time are positively related to the size and dispersion of the hydrolysate, while the hydrolysis temperature is negatively related to them. The second-boiling time has little effect on the size and dispersion of the hydrolysate. The optimal hydrolysis conditions are pH=1.7, hydrolysis temperature of 105 ℃, feeding rate of 6.6 mL/min, aging time of 25 min and second-boiling time of 60 min. Under the optimum conditions, the hydrolysis rate of Ti component is 90.71%. After calcination at high temperature, the obtained metatitanic acid transforms into anatase titanium dioxide, meeting the national standard of non-pigment titanium dioxide.
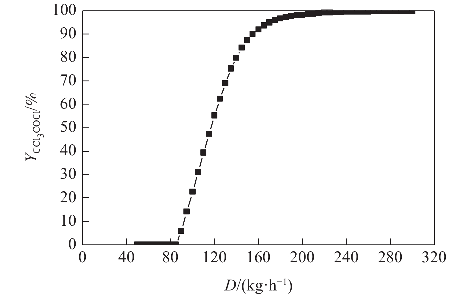
Simulation on separation of organic impurities in titanium tetrachloride
Huang Senhong, Li Liang
2021, 42(3): 53-57. doi: 10.7513/j.issn.1004-7638.2021.03.008
Abstract(1028) HTML (479) PDF(43)
Abstract:
Aiming at separating the organic impurities in titanium tetrachloride after vanadium removal by organics refining, Aspen P1us software was used to simulate the rectification process of TiCl4, and the design parameters of the rectification column were optimized by sensitivity analysis. The optimal design parameters of the rectification column were determined at the reflux ratio of 100, the number of column plate of 68, the feed position on the 24th plate, the top temperature of 64.38 ℃, the bottom temperature of 155.06 ℃, and the distillate rate of 223 kg/h. At the optimum conditions, the purity of titanium tetrachloride after rectification is up to 99.9967%, with the yield ratio more than 99.0%. Organic impurities and SiCl4 mainly flow into the distillate. The yield of CCl3COCl in the distillate is more than 99.0%, which meets the separation requirement.
Application of Vanadium and Titanium
Preparation of carbon fiber supported layered TiC/TiO2 catalyst with potassium ion tuning
Feng Xuefan, Wang Huazhong, Wang Xiaoming, Yu Wenrui, Yang Yu, Zhang Fuqin
2021, 42(3): 58-63. doi: 10.7513/j.issn.1004-7638.2021.03.009
Abstract(696) HTML (197) PDF(31)
Abstract:
A carbon fiber supported layered TiC/TiO2 composite catalyst with heterojunction was prepared by in-situ synthesis with potassium ion (K+) tuning. The prepared catalysts were characterized by FE-SEM, XRD, Raman, XPS and AFM. The photocatalytic degradation of pollutants rhodamine B (RhB) by the catalysts was carried out. The results show that the tuning of potassium ion to heterojunction plays an important role in photocatalytic efficiency. In the process of UV-visible-light catalytic degradation, the removal rate of RhB by CFs@TiC/TiO2 reaches 98%. The repeated experiments show that the photocatalytic removal efficiency is more than 90% after three cycles, indicating a well stability. TiC can be grown on the surface of carbon fibers (CFs) via the in-situ growth collaborated by K+, and partial TiC can be transformed into potassium titanate nano particles through hydrothermal process in NaOH solution. The potassium titanate nano particles were then soaked in dilute HCl solution, and flake anatase TiO2 can be formed via heat treatment and dehydration. Finally, carbon fiber supported CFs@TiC/TiO2 composite catalyst with layered heterojunction can be obtained. The flower-like structure formed by potassium titanate nanocrystals has a large specific surface area, which provides the structural characteristics and catalytic activity sites for preparation of CFs@TiC/TiO2 composites.
Preparation of spherical titanium-tantalum alloy powder for additive manufacturing by radio frequency plasma
Ying Zhenhong, Tan Chong, Shi Qi, Li Guifa, Zheng Haizhong, Liu Xin
2021, 42(3): 64-73. doi: 10.7513/j.issn.1004-7638.2021.03.010
Abstract(795) HTML (272) PDF(34)
Abstract:
The titanium-tantalum alloy powder prepared by hydrogen decrepitation process with irregular morphology was spheroidized by radio frequency (RF) plasma. The effects of feeding rate, carrier gas flow rate and sheath gas (He) flow rate on the spheroidization efficiency, powder characteristics and microstructure were studied. The selective laser melting (SLM) process of the spherical titanium-tantalum alloy powder was also explored. The results show that the cross-sectional microstructure of the powder is lamellar α″-Ti and cellular β-Ti after spheroidization, with the spheroidization efficiency over 98%. The particle size distribution becomes wider and the average particle size increases from 21.41 μm to 32.30 μm. The spheroidization efficiency is influenced by the feeding rate, carrier gas flow rate, sheath gas (He) flow rate. The best spheroidization efficiency can be obtained at 35 g/min of feeding rate, 5.5 L/min of carrier gas flow rate and 40 L/min of sheath gas (He) flow rate, respectively. Compared with the raw powder, the hall velocity of the spherical titanium-tantalum alloy powder reaches 6.27 s/50 g, with the apparent density and tap density increased from 1.38 g/cm3 to 3.11 g/cm3, 2.54 g/cm3 to 3.48 g/cm3, respectively. The spherical titanium-tantalum alloy powder is compatible with the selective laser melting process. The relative density of the formed parts is over 99%, with the microstructure of acicular α″-Ti and cellular β-Ti. No unmelted tantalum particles can be found in the samples and the vickers hardness of the samples reaches 725 HV.
Construction and growth mechanism analysis of nano oxide tubes on Ti-10Mo-28Nb-3Zr-6Ta alloy
Xu Ying, Xia Pengzhao, Wei Ziyan, Zhao Sitan, Cai Yanqing
2021, 42(3): 74-81. doi: 10.7513/j.issn.1004-7638.2021.03.011
Abstract(576) HTML (187) PDF(25)
Abstract:
Nano oxide tubes were formed on the surface of Ti-10Mo-28Nb-3Zr-6Ta alloy by anodic oxidation in a mixed solution containing 1 mol/L H3PO4 and 0.9 % NaF at 25 V DC voltage for 120 min. XRD and SEM were used to analyze the structure, morphology and composition of the nano oxide tubes. The results show that the diameter of the nano oxide tube on the surface of Ti-10Mo-28Nb-3Zr-6Ta alloy is 50~70 nm, the wall thickness is about 15 nm, and the length of the oxidation tube is 100 nm. The nanotubes are composed of amorphous titanium oxide and anatase titanium dioxide nanocrystals. HRTEM and EDS were used to analyze the growth mechanism of nano oxide tubes on the alloy surface. The results show that at the beginning of anodic oxidation process, a layer of amorphous titanium oxide is formed on the alloy surface, and then amorphous nano particles are formed on the surface of amorphous titanium oxide layer under the action of oxidation voltage and electrolyte. After high temperature treatment, partial amorphous nanotubes can be transformed into anatase TiO2 nanocrystals.
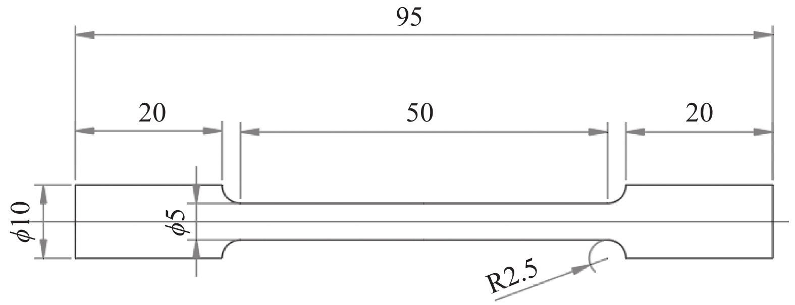
Influence of shaft shoulder diameter on microstructure and properties of Ti-6Al-4V friction stir welding joint
Ma Shihui, Li Jiyuan
2021, 42(3): 82-87. doi: 10.7513/j.issn.1004-7638.2021.03.012
Abstract(742) HTML (231) PDF(29)
Abstract:
As an important parameter for the stir head of friction stir welding (FSW), the diameter of the shaft shoulder has an effect on the microstructure and properties of the welded joints. The friction stir welding of Ti-6Al-4V titanium alloy with 2 mm thickness was carried out with different shaft shoulder diameters. The microstructure and mechanical properties were analyzed. The results show that when the diameter of the shoulder is at 8~14 mm, the grain in the nugget area of the Ti-6Al-4V FSW joint is first refined and then coarse, and the joint tensile strength and joint coefficient are first increased and then decreased. When the diameter of the shoulder is at 12 mm, the grain in the nugget area is the smallest with the average grain size of 7 μm, and the joint tensile strength and joint coefficient are the highest with the value at 929 MPa and 91% respectively.
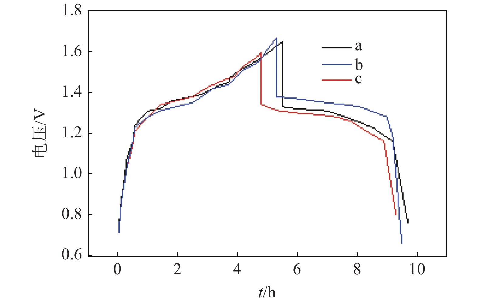
Preparation of heat-treated graphite felt electrode material modified by graphene oxide/graphene
Ding Hongyu, Huang Xiuli
2021, 42(3): 88-93. doi: 10.7513/j.issn.1004-7638.2021.03.013
Abstract(1098) HTML (258) PDF(80)
Abstract:
Graphene oxide was prepared by heat treatment of the graphite felt, and the graphene was further obtained on basis of the graphene oxide. The cathode material of all-vanadium redox flow battery was finally prepared by compositing the graphene oxide, graphene and the heat-treated graphite felt. The surface morphologies and electrochemical properties of the composite electrode materials were characterized by scanning electron microscopy (SEM), Fourier transforms infrared (FTIR) spectroscopy, X-ray diffraction (XRD), and charge-discharge test. The results show that the charge-discharge performances of composite electrode materials are improved. At the current density of 30 mA/cm2, the current efficiency of the graphene oxide/graphite felt composite electrodes reaches 94.713%, and the current efficiency of the graphene/graphite felt composite electrodes reaches 96.482%. The electrochemical activity of the graphite felt/graphene composite electrode is the best.
Preparation and properties of a new vanadium based anode alloy for automotive batteries
Feng Jingxiang, Luo Yuqing, Cao Lixiang
2021, 42(3): 94-98. doi: 10.7513/j.issn.1004-7638.2021.03.014
Abstract(556) HTML (161) PDF(39)
Abstract:
A new vanadium based negative electrode alloy V65Ti20Ni15 for automotive batteries was prepared by self propagating high temperature synthesis (SHS) with different contents of Al or Cr. The microstructure, electrochemical cycle stability and corrosion resistance of the alloy were tested and analyzed. The results show that Al or Cr is helpful to improve the internal structure, electrochemical cycle stability and corrosion resistance of the alloy. The best electrochemical cycle stability and corrosion resistance can be obtained for V59Ti20Ni15Al3Cr3 alloy with Cr and Al added. Compared with the V65Ti20Ni15 alloy without alloying elements, the discharge capacity decay rate of V59Ti20Ni15Al3Cr3 alloy with alloying elements Cr and Al is reduced from 85% to 23% after 50 charge-discharge cycles, with the corrosion potential shifted forward by 692 mV. The electrochemical cycle stability and corrosion resistance of the alloy are significantly improved.
Resources Environment and Energy Saving
Study on resource utilization of by-products of chloride titanium dioxide
Dong Linhui, Yu Jinglun, Fan Hao, Zhu Wenyuan, Li Fengting, Fu Zhenyu
2021, 42(3): 99-104. doi: 10.7513/j.issn.1004-7638.2021.03.015
Abstract(875) HTML (163) PDF(43)
Abstract:
In this paper, a series of new inorganic polymer coagulants (Polymeric Aluminum Ferric Chloride Sulfate, PAFCS) were prepared by using waste hydrochloric acid and chlorinated tail gas absorbing liquid from by-products of the production of titanium dioxide, in combination with industrial aluminum hydroxide and ferrous sulfate heptahydrate, under the conditions of hydrogen peroxide catalytic oxidation. The appearance of the prepared PAFCS was a reddish-brown transparent liquid with a density of 1.39 to 1.43 g/cm3, and the total content of iron and alumina (TFe + Al2O3) was ≥10.5%, which could be used as coagulant for water treatment. The PAFCS prepared in this paper were used to treat landfill leachate biochemical tail water, in which the removal rate of COD reached 68.51%, which was superior to the traditional coagulant polymeric ferric sulfate (PFS). At the same time, this work provides ideas for solving the problem of resource utilization and clean production of by-products in the production process of titanium dioxide by chlorination method in China.
Metal chromium preparation and the factors influencing chromium yield
Ye Mingfeng, Shi Qihua, Yu Bin, Chen Haijun
2021, 42(3): 105-110. doi: 10.7513/j.issn.1004-7638.2021.03.016
Abstract(939) HTML (252) PDF(41)
Abstract:
In this paper the burden parameters and influencing factors of chromium yield in preparing Grade 98 metal chromium with high purity chromium trioxide were studied. The results showed that part of the added reducing agent metal aluminum will enter the product metal chromium. In order to satisfy with composition requirements for metal chromium, the improvement of chromium yield will be limited indirectly. The optimal parameters of chromium smelting process are as follows: unit charge heat value is 3150 kJ/kg and aluminum distribution coefficient is 0.96. When CaO/Cr2O3 is 0.125, the highest chromium yield of 89.24% can be obtained is.The high-purity chromium trioxide produced by Panzhihua Iron and Steel Co. can be used to smelt JCr98 metal chromium containing 0.043% vanadium, which can meet the personalized requirements of downstream users.The high-purity chromium trioxide produced by Panzhihua Iron and Steel Co. can be used to smelt JCr98 metal chromium containing 0.043% vanadium, which can meet the personalized requirements of downstream users.
Analysis of the strength mechanism of lime-base activated titanium gypsum composite cementitious material
Yang He
2021, 42(3): 111-118. doi: 10.7513/j.issn.1004-7638.2021.03.017
Abstract(648) HTML (268) PDF(38)
Abstract:
Titanium gypsum, flue gas desulphurization gypsum and titanium slag are used as main raw materials of titanium industrial solid wastes, and lime is used as an alkaline activator to make titanium gypsum composite cementing materials. Orthogonal experiments, combined with XRD, SEM and other analytical testing methods, are used to analyze the strength mechanism of lime-base activated titanium gypsum composite cementing materials. The experimental results show that the content of titanium gypsum is between 42.9% and 50.3%, which can produce a titanium gypsum composite cementing material with strength of 2.0 in “Building Gypsum” (GB/T 9776—2008). The initial strength contribution of the lime-based titanium gypsum composite cementing material mainly comes from the dihydrate gypsum produced by the hydration of titanium gypsum and flue gas desulphurization gypsum, and the later strength contribution mainly comes from the further reaction of cement, lime and gypsum to produce ettringite. The hydration mechanism is as follows: First, CaSO4·0.5H2O hydrates to produce CaSO4·2H2O; Second, the 3CaO·Al2O3 in the cement reacts with CaSO4·2H2O to produce ettringite, the lime reacts with water to produce Ca(OH)2, and the combination of CaSO4·2H2O and CaO·Al2O3 react to produce ettringite. Therefore, the strength of the titanium gypsum composite cementitious material is further improved.
Experimental study of high carbon ferrochrome slag used in C40 concrete
Yang Fei, Sun Xiaomin
2021, 42(3): 119-124. doi: 10.7513/j.issn.1004-7638.2021.03.018
Abstract(625) HTML (176) PDF(32)
Abstract:
In this paper the high carbon ferrochrome slag used as coarse and fine aggregate in the preparation of C40 concrete was carried out. The compressive strength and carbonization resistance of concrete containing high carbon ferrochrome slag weree investigated and the solidification effect of hexavalent chromium ion in cement concrete was evaluated. The results indicate that the compressive strength of concrete with high carbon ferrochrome slag at 28 days is slight higher than the ordinary C40 concrete. The resulted concrete with incorporation of high carbon ferrochrome slag is superior to the reference concrete regarding the resistance to chloride penetration and carbonization due to its surface porosity and high porosity. Whereas, the surface leaching concentration of concrete incorporating high carbon ferrochrome slag is relatively low and less than the critical value of 0.05 mg/L. From the perspective of application and environment, it can indicate that the preparation of C40 concrete with high carbon ferrochrome slag as aggregate is feasible.
Ferrous Metallurgy and Materials
Influence of basicity on mineralogical microstructure and metallurgical property of sinter in shijiazhuang iron & steel
Liu Lina
2021, 42(3): 125-129. doi: 10.7513/j.issn.1004-7638.2021.03.019
Abstract(982) HTML (272) PDF(40)
Abstract:
The mineralogical compositions and microstructure of sinter with different basicity had been investigated by means of polarization microscope, and the relationship between the mineralogical microstructure and the metallurgical property of sinter had been analyzed. The result shows that when the basicity of the sinter varies from 1.8 to 2.4, the mineral composition of sinter is simple, and the content of the binder phase increases. With the basicity of sinter increased, the microstructure of the sinter is uniform gradually and changes from porphyric-granular texture to erosion interleaving texture, the content of the pore is elevated, the skeleton crystals hematite appear, the form of calcium ferrite is anhedron to neddle-shaped. Consequently the metallurgical property of the sinter is improved.
High-temperature simulation of slag foaming induced by various gas sources
Hu Chao, Wang Ruifang, Zhang Bo, Li Mengwei, Liu Chengjun, Jiang Maofa
2021, 42(3): 130-134. doi: 10.7513/j.issn.1004-7638.2021.03.020
Abstract(556) HTML (183) PDF(43)
Abstract:
The effective control of slag foaming has an important practical significance for stability of metallurgical process. In this paper high-temperature simulation of slag foaming induced by interior and exterior gas sources had been conducted. Under present experimental conditions, the following conclusions are obtained. Induced by exterior gas source, the foamed slag consisted of polyhedral bubbles with a size of 7~15 mm. The foaming height firstly increased and afterwards decreased with increasing gas flowrate. When induced by interior gas source, the foamed slag was stacked with spherical bubbles with a size of 0.5~1.0 mm; the foaming height increased with increasing gas amount released by slag-metal reaction and decreasing slag basicity. The defoaming agent were classified depending on their effects: active lime > soda ash > limestone > dolomite > magnesite.
Study on preparation of Fe/Fe2SiO4-based cermets by microwave in-situ reduction
Gao Chenbo, Xu Pengfei, Ruan Fei, Li Hongxia
2021, 42(3): 135-142. doi: 10.7513/j.issn.1004-7638.2021.03.021
Abstract(597) HTML (302) PDF(30)
Abstract:
Fe/Fe2SiO4-based cermets were prepared with magnetic separation iron concentrate as the main raw material and kaolin as the additive by means of microwave in-situ reduction. The theoretical basis, main technical route, and reaction mechanism of iron-based cermets developed by using microwave heating in situ reductions of magnetic separation iron concentrates are summarized. Combined with XRD, SEM, and other analysis and testing methods, the effect of kaolin content on phase, physical properties, and microstructure of iron-based cermets composites had been explored. The results show that under conditions of Kaolin content at 15%, sintering at 835 ℃ for 1 hour can make iron-based cermets composites achieve the best comprehensive properties, where dominant phase is α-Fe, its density is 5.56 g/cm3, and Vickers hardness is 7.35 GPa.
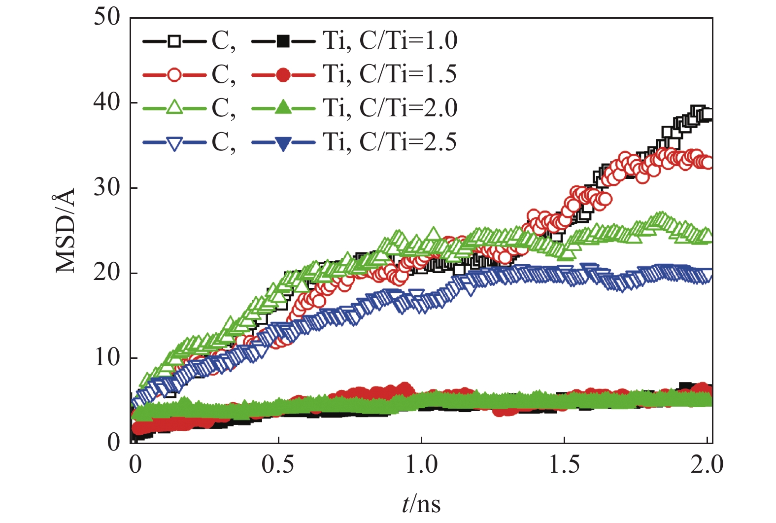
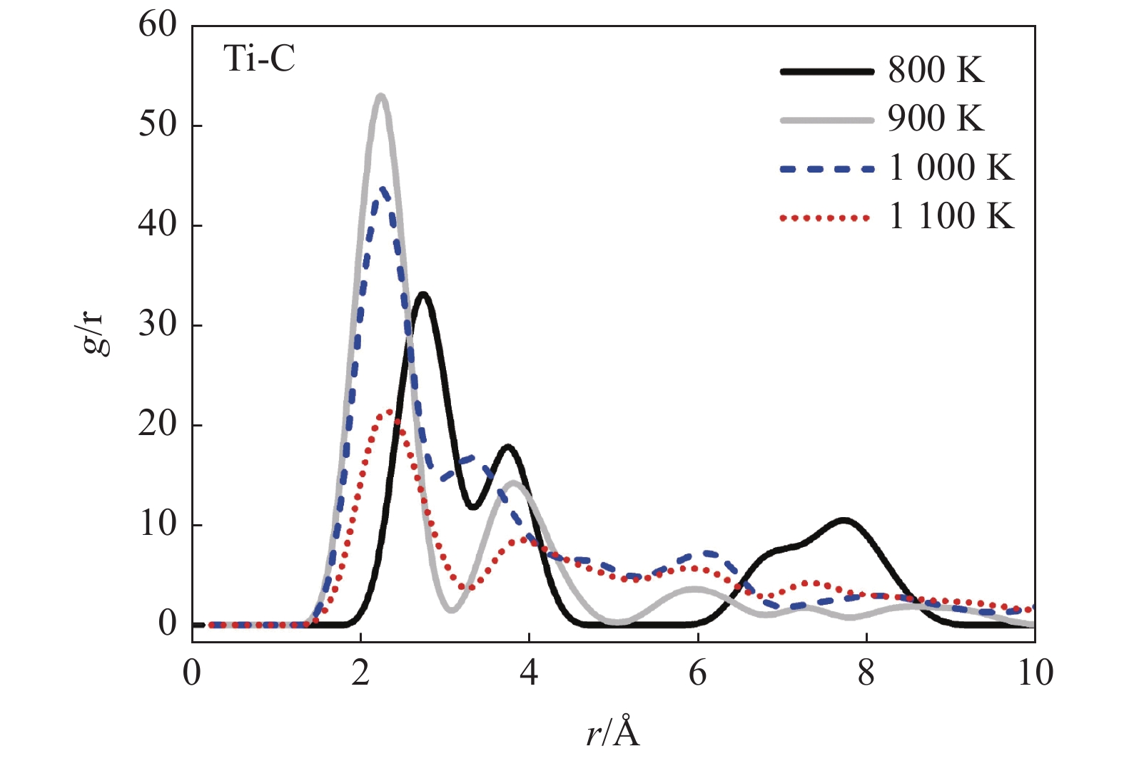
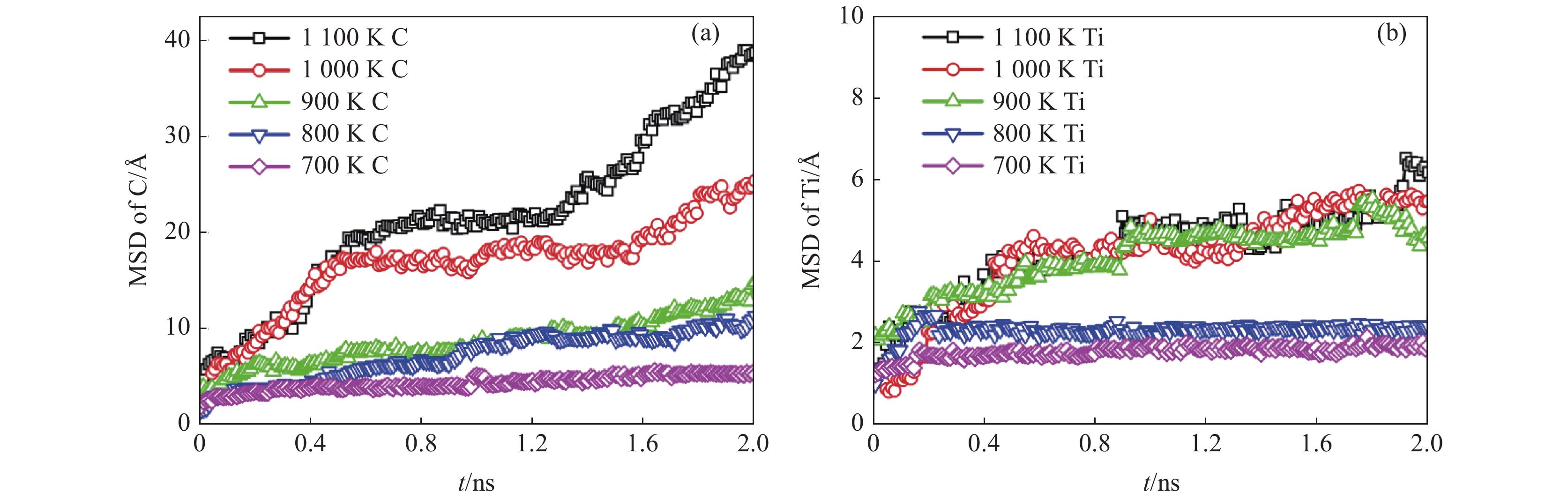
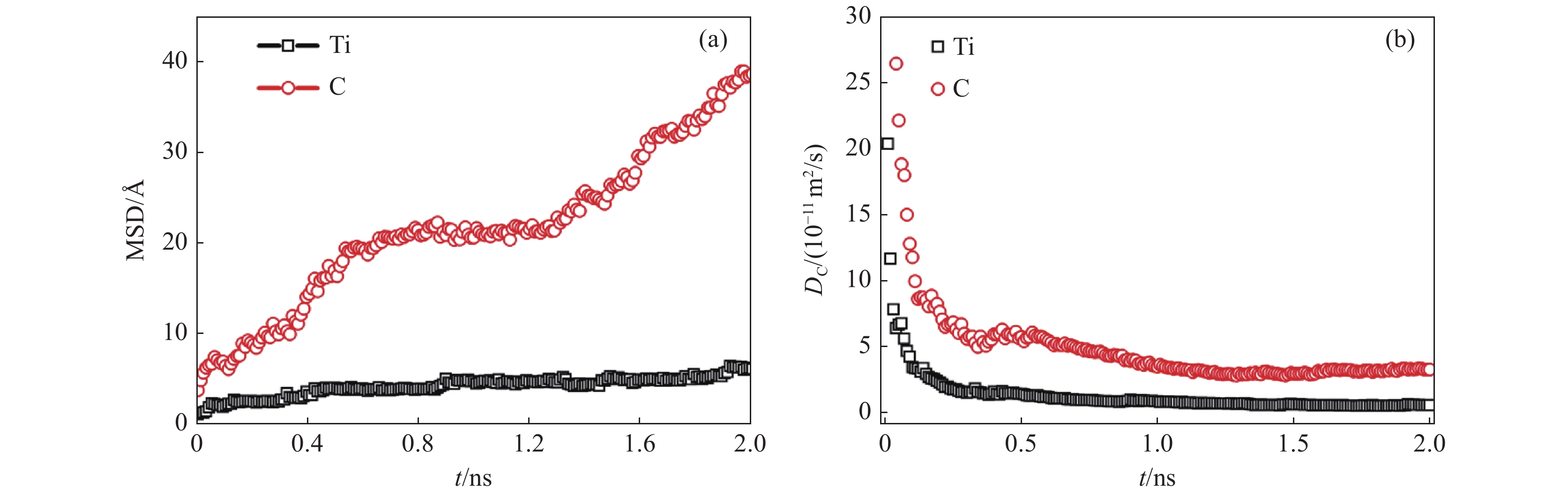
Diffusional characteristics of atoms during the formation of titanium carbides
Lv Yanan, Chen Dong
2021, 42(3): 143-147. doi: 10.7513/j.issn.1004-7638.2021.03.022
Abstract(814) HTML (170) PDF(56)
Abstract:
To clarify the formation mechanism of metal carbide precipitate in ferroalloy and solve the limitation that macro experiments cannot directly study the initial stage of carbide deposition, the diffusional characteristics of titanium and carbon atoms are studied during the formation process of nanoscale titanium carbide in ferrite via the molecular dynamics simulation. The dependences of system parameters, such as temperature and carbon concentration, on the diffusivity of titanium and carbon are investigated. The results show that the diffusion-controlled carbide formation relies on the diffusion of interstitial carbon atom and solute titanium atoms, in which the slowly diffusing substitutional component, titanium, is the dominating factor. The diffusivity of Ti and C are enhanced with the increasing temperature, but both diffusions of titanium and carbon decrease with the increasing carbon concentration.
Effect of heat treatment process on microstructure and hardness of Cr12MoV steel
Du Simin, Li Xiong, Lin Faju
2021, 42(3): 148-154. doi: 10.7513/j.issn.1004-7638.2021.03.023
Abstract(2678) HTML (593) PDF(101)
Abstract:
In this paper the effect of ordinary heat treatment and cryogenic treatment on the microstructure and hardness of Cr12MoV steel had been investigated by microstructure observation using a metallographic microscope, the retained austenite determination by XRD, and the hardness measurement . The results show that the microstructure of Cr12MoV steel after ordinary heat treatment and cryogenic treatment are crypto needle martensite and retained austenite and carbide, and the microstructure changes into tempered martensite and carbide and retained austenite after low temperature tempering at 200 ℃. Cryogenic treatment can greatly reduce the retained austenite in the steel and improve the hardness. The highest hardness is 780 HV30 when steel are quenched at 1020 ℃ and held for 60 min at −196 ℃ for 2 h and tempered at 200 ℃ for 120 min.
High-temperature tribological properties of AlFeCrCoNiTi high-entropy alloy coatings laser cladded with different parameters
Cui Shaowei, Wang Shuqi, Jiang Wei, Liu Xiyan
2021, 42(3): 155-161, 192. doi: 10.7513/j.issn.1004-7638.2021.03.024
Abstract(506) HTML (151) PDF(29)
Abstract:
Some coatings were laser cladded on H13 steel and the micro-structure and hardness of the coatings were analyzed. The high-temperature tribological performance of H13 steel and each coating was studied by a pin-plate high-temperature wear testing machine. The analysis of the micro-morphology, composition and phase of the friction layer on each coating was conducted by SEM, EDS and XRD, which provided the evidence for the wear mechanism. The results show that the wear volume of laser cladding coatings is always an order of magnitude lower than that of H13 steel, regardless of the temperature or the normal load. When the temperature is 400 ℃, for all the coatings the velocity of weight loss caused by wear is higher than the velocity of weight gain caused by oxidation. As a result, the overall weight change tendency is decreasing. When the temperature is 600 ℃, in contrast, the velocity of the weight loss is lower than that of the weight gain. Thus, the overall weight change tendency is tincreasing. Coating 1 has the highest resistance to high-temperature softening. The surface of the friction layer on this coating always remains intact, regardless of the temperature or the normal load. Coating 2 has the lowest resistance to high-temperature softening. When the temperature is 400 ℃, mass peeling occurs on the surface of the friction layer even when the normal load is only 50 N. When the temperature is 600 ℃, the extrusion degree of the friction layer on this coating is more serious than those of other coatings. The resistance to high-temperature softening of coating 3 is lower than that of coating 1 but is higher than coating 2. When the temperature is 400 ℃, the surface of the friction layer remains intact with low normal loads. But mass peeling occurs on it with high normal loads. When the temperature is 600 ℃, the extrusion degree of the friction layer on this coating is less serious than that on coating 2 but still kind of harsh.
Study on the carbide refining technology of semi high speed steel for cold roller
Lin Faju, Li Xiong, Wu Chengchuan
2021, 42(3): 162-171. doi: 10.7513/j.issn.1004-7638.2021.03.025
Abstract(669) HTML (217) PDF(33)
Abstract:
Based on the results of thermos-Calc calculation and in-situ observation, the carbide refinement technology of 95Cr5mMoV cold roll semi high speed steel was studied. The equilibrium solidification carbides of 95Cr5MoV semi high speed steel mainly include MC, M7C3 and M23C6. Among them, M23C6 carbides completely dissolve into the matrix at about 785 ℃, M7C3 carbides completely dissolve into the matrix at 1100 ℃ and MC carbides completely dissolve into the matrix at about 1170 ℃. It is observed by high temperature confocal microscope that the massive MC carbides begins to dissolve at 960 ℃, and when the temperature rises to 1170 ℃, the dissolution accelerates, but it still exists until 1217 ℃, which indicates that the dissolution temperature of non-equilibrium state is higher than that of equilibrium state. In order to refine carbides, the heat treatment process of “1100 ℃ high temperature solid solution + 880 ℃ three times circulation + 740 ℃ annealing” was adopted in the laboratory. The size of large liquidus carbides decreased obviously, and the microstructure is uniform. The reliability of the process was verified in industrial production.
Current research status of numerical simulation for laser cladding process
He Kui, Cao Zhiqin, Wang Yuekun, Zhang Xuefeng
2021, 42(3): 172-179. doi: 10.7513/j.issn.1004-7638.2021.03.026
Abstract(1781) HTML (248) PDF(128)
Abstract:
Laser cladding is a new type of additive manufacturing and surface repair technology, which has become research hotspot in the industrial field. High performance alloy coating prepared by laser cladding technology can significantly improve the wear resistance, corrosion resistance and service life of the substrate. In this paper, the numerical simulation research of temperature field, residual stress and microstructure deformation in laser cladding process had been described. The numerical simulation methods used in analyzing the distribution and evolution of the above physical parameters at home and abroad was summarized. The formation mechanism of residual stress and fabric deformation were revealed, which provided a theoretical basis for obtaining high-quality cladding coating. Finally, the future development trend of numerical simulation technology in laser cladding process was prospected.
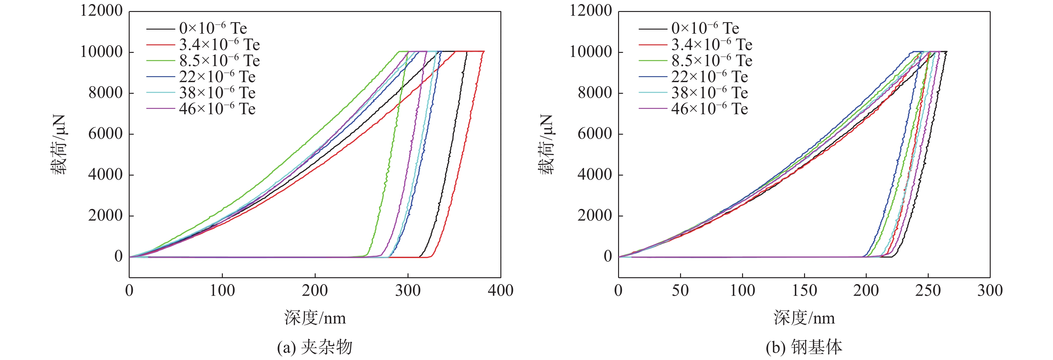
Effect of tellurium on the deformation of sulfides in rolling process
Shen Ping, Wang Dong, Zhang Hao, Yang Qiankun, Ai Kenan, Zeng Zhiqi, Fu Jianxun
2021, 42(3): 180-186. doi: 10.7513/j.issn.1004-7638.2021.03.027
Abstract(704) HTML (181) PDF(27)
Abstract:
Modification of MnS inclusion by Te is one of the most efficient methods to improve the morphology and distribution of MnS inclusions. However, previous researches did not generate acceptable opinions on the deformation behaviors of MnS inclusions during the rolling process after adding Te. In the present study, the existing form of Te in the 38MnVS6 steel was detected by SEM-EDS. Gleeble-3500 was employed to simulate the rolling process. The hardness of MnS inclusions and steel matrix was measured and the statistics of inclusions were performed to analyze the effect of Te on the deformability of inclusions. The results show that Te initially dissolves in MnS inclusion after adding a small amount of Te. When the Te content reaches 130 ×10−6, MnTe starts to generate. After hot-pressing, the inclusions were deformed. With the increase of Te content, the aspect ratio of inclusions decreases from 2.3 to approximately 1.8 and gradually reaches a constant value. The hardness determination result indicates that the deformation resistance of inclusions is not caused by the increase of inclusion hardness, since the hardness ratio Hinclusion/Hmatrix keeps relatively constant after adding different Te content. The statistics of inclusions prove that the inclusion with a small diameter shows low aspect ratio after hot-pressing. The addition of Te can reduce the size of inclusions, leading to less deformation of inclusions.
Study on microalloying and heat treatment process of spring steel 55SiCrV
Meng Jian
2021, 42(3): 187-192. doi: 10.7513/j.issn.1004-7638.2021.03.028
Abstract(1485) HTML (353) PDF(116)
Abstract:
In this paper 55SiCrV steel was obtained by V microalloying based on the composition of 55SiCr spring steel, the effect of heat treatment on the microstructure and mechanical properties of 55SiCrV was studied by means of orthogonal test of quenching and tempering, microstructure observation, mechanical properties test and X-ray diffraction. The experimental results show that there are a large number of 10 ~ 35 nm vanadium containing precipitates in the microstructure of 55SiCrV (0.20% V), and the corresponding strengthening effect is the best. Quenching and tempering processes can change the microstructure proportion of 55SiCrV, in which retained austenite can reduce the strength and increase the plasticity, the best matching of mechanical properties (Rm=1 815 MPa, Z=28%) of 55SiCrV is obtained by following process combination o f quenching at 900 ℃ and tempering at 430 ℃, and the content of resulted retained austenite is 2.3%.
Performance optimization of die casting aluminum alloy containing vanadium for mechanical parts
Wu Gang, Liu Zhiqiang
2021, 42(3): 193-198. doi: 10.7513/j.issn.1004-7638.2021.03.029
Abstract(503) HTML (171) PDF(28)
Abstract:
The die-casting experiments of Al-10Si-2.5Cu-0.3V die-casting aluminum alloy containing vanadium for mechanical parts were carried out with different injection ratio and injection speed, and the mechanical properties and wear resistance of the alloy were tested and analyzed. The results show that the mechanical properties and wear resistance of the alloy increase firstly and then decrease with the increase of injection pressure from 650 MPa to 750 MPa and injection speed from 250 mm/s to 450 mm/s. The injection specific pressure and injection velocity of the alloy are 725 MPa and 350 mm/s, respectively. Compared with results from injection pressure of 650 MPa, when the injection pressure increases to 725 MPa, the tensile strength increases by 18 MPa, total elongation after fracture decreases by 0.6%, and the wear volume decreases by 8 ×10−3 mm3. Compared with results from injection rate of 450 mm/s, when the injection rate is 350 mm/s, the tensile strength of the alloy increases by 20 MPa, and total elongation after fracture decreases by 0.7%, and the wear volume decreases by 10×10−3 mm3.
Research on non-metallic inclusions in high-speed wheel steel
Li Xiangyang, Wu Wangpeng, Chen Yan, Zhao Hai, Shen Chang, He Yizhu
2021, 42(3): 199-204. doi: 10.7513/j.issn.1004-7638.2021.03.030
Abstract(761) HTML (188) PDF(28)
Abstract:
In order to reduce the adverse effects of brittle Al2O3 inclusions on the fatigue properties of high-speed wheel steels, plastic inclusions are usually used to wrap the brittle inclusions. In order to evaluate the wrapping state of wrapped inclusions in high-speed wheel steel, scanning electron microscope and ASPEX automatic scanning electron microscope are used to analyze and study the wrapped non-metallic inclusions in core-shell structure of high-speed wheel steel, including core-shell structure wrapped non-metallic inclusions. The morphology and composition of metal inclusions, including the core and shell, the composition of the inclusions and the matrix interface, were analyzed. And the size of the core and shell had been statistically measured. It is found out that core-shell structured non-metallic inclusions are generally elliptical with a length of 1~10 μm. The main component of the coating shell is plastic MnS inclusions. The thickness of the coating is typical around 0~2.26 μm. The wrapped core is dominated by brittle inclusions Al2O3, and the size of the core is small, generally 0.31~1.43 μm. There is a composition gradient from the core of the inclusion to the outer shell. It is inferred that the outer layer of the inclusion is chemically bonded between MnS and Al2O3. The calculation results using JMatPro thermodynamics software show that the increase of S and Mn content can increase the precipitation temperature of MnS, help to form core-shell non-metallic inclusions of MnS wrapped Al2O3, thereby improve the fatigue performance of high-speed wheel steel.